Запасные части ЧТЗ Запасные части ЧТЗ
Горловка
Например:
Актобе
Алдан
или
Выбрать автоматически
Актобе
Алдан
Алматы
Алчевск
Архангельск
Астана
Астрахань
Атырау
Баку
Балашиха
Барнаул
Белгород
Бердянск
Бишкек
Владивосток
Владикавказ
Воркута
Воронеж
Горловка
Грозный
Донецк
Екатеринбург
Иваново
Ижевск
Иркутск
Казань
Калининград
Каменск-Уральский
Караганда
Каховка
Кемерово
Киров
Комсомольск-на-Амуре
Костанай
Краснодар
Красноярск
Красный луч
Ленск
Луганск
Магадан
Магнитогорск
Макеевка
Махачкала
Мелитополь
Минск
Мирный (Якутия)
Москва
Мурманск
Нерюнгри
Нижневартовск
Нижний Новгород
Нижний Тагил
Новая каховка
Новокузнецк
Новосибирск
Новый Уренгой
Норильск
Ноябрьск
Нур-Султан
Омск
Оренбург
Ош
Павлодар
Пермь
Петрозаводск
Петропавловск
Петропавловск-Камчатский
Псков
Ростов-на-Дону
Салехард
Самара
Санкт-Петербург
Саратов
Севастополь
Семей
Симферополь
Сочи
Ставрополь
Сургут
Сыктывкар
Тараз
Ташкент
Токмак
Томск
Тында
Тюмень
Ульяновск
Усинск
Усть-Каменогорск
Уфа
Хабаровск
Ханты-Мансийск
Херсон
Челябинск
Чита
Шымкент
Экибастуз
Энергодар
Южно-Сахалинск
Якутск
Ваш город
Горловка
Войти
Запасные части к тракторам на одном сайте
Отправить заявку


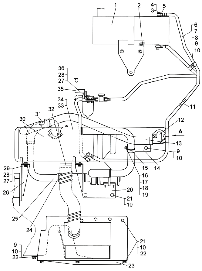
Установка подогревателя HYDRONIC-35 на Т10М / Б10М


/
с НДС 20%
Описание
Установка подогревателя HYDRONIC-35 на Т10М
# Номер запчасти Наименование детали Кол-во в сборке
64-43-21 СП Установка подогревателя HYDRONIC-35
(для трактора с электростартерным пуском двигателя)
1
1 64-43-262СП Бак 1
2 700-40-3113 Прокладка 1
3 700-28-2457 Болт поворотного угольника 2
4 - Кольцо 12x16 4
5 64-43-337СП Трубка 2
6 700-46-2356-03 Рукав 2
7 - Хомут червячный 8-16/9 W2 2
8 41627 Скоба 3
9 - Болт М10-6g×20.58.019 6
10 - Шайба 10 ОТ 65Г 09 19
11 64-43-497 Вставка 11
12 51-43-204 Патрубок 1
13 700-46-2364 Рукав 1
14 64-43-387 Кронштейн 1
15 700-54-201-21 Хомутик 1
16 - Болт М6-6g×20.88.35.019 1
17 - Гайка М6-7Н.6.019 1
18 - Шайба 6Т 65Г 09 1
19 31358-1 Шайба 1
20 64-43-287СП Кронштейн 1
21 - Болт М10-6g×25.58.019 14
22 - Шайба 10.01.10.019 15
23 51-43-209СП Днище 1
24 700-46-2346 Рукав 1
25 - Труба 64.43.386 1
26 64-43-286СП Кронштейн 1
27 - Болт М8-6дх25.88.35.019 6
28 - Шайба 8Т 65Г 09 6
29 31386 Шайба 4
30 - Отопитель Hydronic L35- 24В 25 2489 05 00 00 1
31 - Переходник 64.43.384 1
32 - Хомут Пирит 1070-Ш-1м-10 69-74 2
33 - Соединительный шланг 360 00 300 4
34 - Хомут червячный 32-50/12 W2 12
35 64-43-288СП Кронштейн 1
36 - Гайка М8-7Н.6.019 2
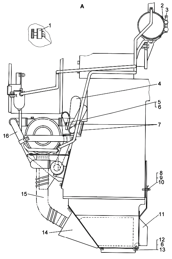
# Номер запчасти Наименование детали Кол-во в сборке
1 64-10-475СП Электрооборудование Hydronic-35 1
2 16-25-102СП Хомут 1
3 51-05-116СП Болт стяжной 1
4 64-43-318 Патрубок 1
5 - Болт M10-6g×75.58.019 2
6 - Шайба 10 ОТ 65Г 09 19
7 46792 Прокладка 2
8 64-43-90 Стяжка 1
9 18-14-122 Пластина 1
10 - Гайка М10-7Н.6.019 1
11 64-43-259СП Щиток 1
12 - Болт M10-6g×20.58.019 6
13 31386 Шайба 4
14 64-43-292СП Установка щитка 1
15 64-43-394 Газоход 1
16 - Труба 64.43.384 1

Установка подогревателя HYDRONIC-35