Запасные части ЧТЗ Запасные части ЧТЗ
Горловка
Например:
Актобе
Алдан
или
Выбрать автоматически
Актобе
Алдан
Алматы
Алчевск
Архангельск
Астана
Астрахань
Атырау
Баку
Балашиха
Барнаул
Белгород
Бердянск
Бишкек
Владивосток
Владикавказ
Воркута
Воронеж
Горловка
Грозный
Донецк
Екатеринбург
Иваново
Ижевск
Иркутск
Казань
Калининград
Каменск-Уральский
Караганда
Каховка
Кемерово
Киров
Комсомольск-на-Амуре
Костанай
Краснодар
Красноярск
Красный луч
Ленск
Луганск
Магадан
Магнитогорск
Макеевка
Махачкала
Мелитополь
Минск
Мирный (Якутия)
Москва
Мурманск
Нерюнгри
Нижневартовск
Нижний Новгород
Нижний Тагил
Новая каховка
Новокузнецк
Новосибирск
Новый Уренгой
Норильск
Ноябрьск
Нур-Султан
Омск
Оренбург
Ош
Павлодар
Пермь
Петрозаводск
Петропавловск
Петропавловск-Камчатский
Псков
Ростов-на-Дону
Салехард
Самара
Санкт-Петербург
Саратов
Севастополь
Семей
Симферополь
Сочи
Ставрополь
Сургут
Сыктывкар
Тараз
Ташкент
Токмак
Томск
Тында
Тюмень
Ульяновск
Усинск
Усть-Каменогорск
Уфа
Хабаровск
Ханты-Мансийск
Херсон
Челябинск
Чита
Шымкент
Экибастуз
Энергодар
Южно-Сахалинск
Якутск
Ваш город
Горловка
Войти
Запасные части к тракторам на одном сайте
Отправить заявку


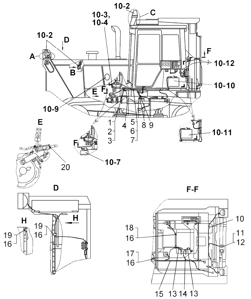
Электрооборудование трактора с гидромеханической трансмиссией на Т10М / Б10М


/
с НДС 20%
Описание
#Номер запчастиНаименование детали
10-1, 10-264-10-28-03СП 2
64-10-37СП 1
Электрооборудование трактора
(с гидромеханической трансмиссией)
10-3, 10-464-10-614СП 2
64-10-613СП 1
Электрооборудование на дизеле
(с электростартерной системой пуска)
10-764-10-158-01СП 2
50-10-640СП 3
Электрооборудование на дизеле
(с пусковым двигателем)
10-948-10-166-05СПУстановка щитка управления подогревателем ПЖД-30Е
10-1064-10-492СПУстановка аккумуляторных батарей
(для трактора с гидромеханической трансмиссией и
электростартерной системой пуска)
10-1164-10-491СПУстановка аккумуляторных батарей
(для трактора с гидромеханической трансмиссией и
пусковым двигателем)
10-1264-10-115-08СП 2
64-10-115-01СП 1
Электрооборудование кабины

Электрооборудование трактора Т10М с гидромеханической трансмиссией
#Номер запчастиНаименование деталиКол-во в сборке
-64-10-28-03СП 1
64-10-37СП 2
Электрооборудование трактора (с гидромеханической трансмиссией)
1-Болт М10-6g×20.58.0191
2-Шайба 10 ОТ 65Г 091
33197 1
31308-1 2
Шайба1
450-10-306СП 1
50-10-280СП 2
Провод 351
Провод 51
1
5-Болт М12-6g×25.58.0191
6-Шайба 12 ОТ 65Г 091
73135-1Шайба1
864-10-624CППровод1
964-10-116CПЖгут 81
10700-40-2973Прокладка2
11-Кольцо 032-036-25-2-21
12-Датчик уровня топлива ДТ 7.2-680 РИВП 45 3545.004 41
1364-10-584СППровод 27С3 2, 2 1
1450-10-834СППровод 2101
1564-10-451СП 1
64-10-596СП 2
Жгут 11
Жгут 1
1
16700-40-2654Прокладка9
17700-41-2943Хомутик2
1841627Хомутик2
1908414Скоба4
20700-40-6286Наконечник1
1 Для трактора с пусковым двигателем.
2 Для трактора с электростартерной системой пуска.
3 Для трактора с пусковым двигателем (с механической трансмиссией).
4 Заказывать измеритель уровня топлива ИТ 7.1-02 РИВП 45 3845.005ПС. Комплект.
Электрооборудование трактора с гидромеханической трансмиссией