Запасные части ЧТЗ Запасные части ЧТЗ
Горловка
Например:
Актобе
Алдан
или
Выбрать автоматически
Актобе
Алдан
Алматы
Алчевск
Архангельск
Астана
Астрахань
Атырау
Баку
Балашиха
Барнаул
Белгород
Бердянск
Бишкек
Владивосток
Владикавказ
Воркута
Воронеж
Горловка
Грозный
Донецк
Екатеринбург
Иваново
Ижевск
Иркутск
Казань
Калининград
Каменск-Уральский
Караганда
Каховка
Кемерово
Киров
Комсомольск-на-Амуре
Костанай
Краснодар
Красноярск
Красный луч
Ленск
Луганск
Магадан
Магнитогорск
Макеевка
Махачкала
Мелитополь
Минск
Мирный (Якутия)
Москва
Мурманск
Нерюнгри
Нижневартовск
Нижний Новгород
Нижний Тагил
Новая каховка
Новокузнецк
Новосибирск
Новый Уренгой
Норильск
Ноябрьск
Нур-Султан
Омск
Оренбург
Ош
Павлодар
Пермь
Петрозаводск
Петропавловск
Петропавловск-Камчатский
Псков
Ростов-на-Дону
Салехард
Самара
Санкт-Петербург
Саратов
Севастополь
Семей
Симферополь
Сочи
Ставрополь
Сургут
Сыктывкар
Тараз
Ташкент
Токмак
Томск
Тында
Тюмень
Ульяновск
Усинск
Усть-Каменогорск
Уфа
Хабаровск
Ханты-Мансийск
Херсон
Челябинск
Чита
Шымкент
Экибастуз
Энергодар
Южно-Сахалинск
Якутск
Ваш город
Горловка
Войти
Запасные части к тракторам на одном сайте
Отправить заявку


Блок управления пусковым двигателем на Т10М / Б10М


/
с НДС 20%
Описание
Блок управления пусковым двигателем на Т10М
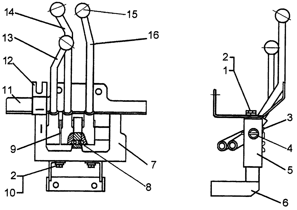
#Номер запчастиНаименование деталиКол-во в сборке
-51-74-208СПБлок управления пусковым двигателем1
1-Болт М10x25.58.0192
2-Шайба 10 ОТ 65Г 094
3-Шплинт 4x502
4700-47-2104Ось1
551-74-85Кронштейн1
651-74-214СПКронштейн1
751-74-94Втулка1
8-Шарик Б 10-2002
918-74-122Прокладка12
10-Болт М10x20.58.0192
1151-74-117Кронштейн1
1251-74-112Кронштейн1
1351-74-215СПРычаг1
1451-74-164СПРычаг1
15722-17-58Ручка4
1651-74-162СПРычаг1
Блок управления пусковым двигателем