Запасные части ЧТЗ Запасные части ЧТЗ
Горловка
Например:
Актобе
Алдан
или
Выбрать автоматически
Актобе
Алдан
Алматы
Алчевск
Архангельск
Астана
Астрахань
Атырау
Баку
Балашиха
Барнаул
Белгород
Бердянск
Бишкек
Владивосток
Владикавказ
Воркута
Воронеж
Горловка
Грозный
Донецк
Екатеринбург
Иваново
Ижевск
Иркутск
Казань
Калининград
Каменск-Уральский
Караганда
Каховка
Кемерово
Киров
Комсомольск-на-Амуре
Костанай
Краснодар
Красноярск
Красный луч
Ленск
Луганск
Магадан
Магнитогорск
Макеевка
Махачкала
Мелитополь
Минск
Мирный (Якутия)
Москва
Мурманск
Нерюнгри
Нижневартовск
Нижний Новгород
Нижний Тагил
Новая каховка
Новокузнецк
Новосибирск
Новый Уренгой
Норильск
Ноябрьск
Нур-Султан
Омск
Оренбург
Ош
Павлодар
Пермь
Петрозаводск
Петропавловск
Петропавловск-Камчатский
Псков
Ростов-на-Дону
Салехард
Самара
Санкт-Петербург
Саратов
Севастополь
Семей
Симферополь
Сочи
Ставрополь
Сургут
Сыктывкар
Тараз
Ташкент
Токмак
Томск
Тында
Тюмень
Ульяновск
Усинск
Усть-Каменогорск
Уфа
Хабаровск
Ханты-Мансийск
Херсон
Челябинск
Чита
Шымкент
Экибастуз
Энергодар
Южно-Сахалинск
Якутск
Ваш город
Горловка
Войти
Запасные части к тракторам на одном сайте
Отправить заявку


Отопитель масляный на Т10М / Б10М


/
с НДС 20%
Описание
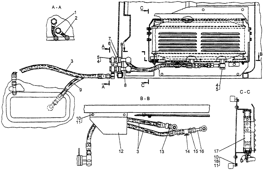
Отопитель масляный на Т10М
#Номер запчастиНаименование деталиКол-во в сборке
150-47-203СПТруба1
250-47-202СПТруба1
350-26-485-04СПРукав 163
4700-41-3306Болт полый4
540910Кольцо8
6700-30-2427Гайка2
7700-40-9082Уплотнение2
850-47-204СППереходник2
950-26-485-02СПРукав 161
10-Болт М8-6gх16.88.356
11-Шайба 8.01.0196
1250-47-215Защита1
1350-56-109СПУгольник1
14-Кран ½ типа 54/А фирмы «IVR»1
15700-41-3876Переходник2
1650-47-201СППереходник1
1750-47-205СПОтопитель масляный1
18-Шайба 8Т 65Г 094
Отопитель масляный