Запасные части ЧТЗ Запасные части ЧТЗ
Горловка
Например:
Актобе
Алдан
или
Выбрать автоматически
Актобе
Алдан
Алматы
Алчевск
Архангельск
Астана
Астрахань
Атырау
Баку
Балашиха
Барнаул
Белгород
Бердянск
Бишкек
Владивосток
Владикавказ
Воркута
Воронеж
Горловка
Грозный
Донецк
Екатеринбург
Иваново
Ижевск
Иркутск
Казань
Калининград
Каменск-Уральский
Караганда
Каховка
Кемерово
Киров
Комсомольск-на-Амуре
Костанай
Краснодар
Красноярск
Красный луч
Ленск
Луганск
Магадан
Магнитогорск
Макеевка
Махачкала
Мелитополь
Минск
Мирный (Якутия)
Москва
Мурманск
Нерюнгри
Нижневартовск
Нижний Новгород
Нижний Тагил
Новая каховка
Новокузнецк
Новосибирск
Новый Уренгой
Норильск
Ноябрьск
Нур-Султан
Омск
Оренбург
Ош
Павлодар
Пермь
Петрозаводск
Петропавловск
Петропавловск-Камчатский
Псков
Ростов-на-Дону
Салехард
Самара
Санкт-Петербург
Саратов
Севастополь
Семей
Симферополь
Сочи
Ставрополь
Сургут
Сыктывкар
Тараз
Ташкент
Токмак
Томск
Тында
Тюмень
Ульяновск
Усинск
Усть-Каменогорск
Уфа
Хабаровск
Ханты-Мансийск
Херсон
Челябинск
Чита
Шымкент
Экибастуз
Энергодар
Южно-Сахалинск
Якутск
Ваш город
Горловка
Войти
Запасные части к тракторам на одном сайте
Отправить заявку


Капот на Т-170


/
с НДС 20%
Описание
Капот Т-170
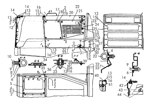
Поз.НаименованиеАртикулКол-во в сборке
0Капот50-55-27СП1
0Капот для тракторов двойного назначения50-55-27-02СП1
0Капот для тракторов, комплектуемых гидромеханической трансмиссией и электростартерным пуском дизеля50-55-27-03СП1
0Капот для тракторов, комплектуемых экскаваторным оборудованием50-55-27-01СП1
0Крышка50-55-3671
2БолтМ10Х25.58.01932
3Шайба10ОТ65Г09332
4Шайба31308-124
5Крышка50-55-276СП1
6Прокладка700-40-778912
7Пружина3838510
8Шайба-колпачок18-25-3110
9Упор18-25-3210
10Шплинт3,2Х1810
12Лобовина50-55-271СП1
13Шайба12ОТ65Г0928
14Козырек50-55-274СП1
15БолтМ12Х30.58.01926
16Шайба3135-122
17Створка50-55-4861
18Створка50-55-4871
19Шайба31978
20Крышка50-55-325СП1
22Створка50-55-4891
24Опора50-55-4591
25Решетка50-55-280СП1
26Гайка30114
27Кронштейн50-55-306СП2
28Шайба 16ОТ65Г094
29Шайба31477-014
30Болт700-28-26214
31Уголок50-55-4492
32Боковина50-55-323СП1
33Боковина50-55-324СП1
34Амортизатор5910447
35Проставка50-55-279СП1
36Втулка700-40-36842
37БолтМ12Х55.58.0192
38Втулка50-55-4502
39Опора50-55-3072
40Планка50-55-120СП1
41Вставка50-55-2071
42Лобовина50-55-194СП1
43Боковина50-55-195СП1
44Боковина50-55-196СП1
Капот