Запасные части ЧТЗ Запасные части ЧТЗ
Горловка
Например:
Актобе
Алдан
или
Выбрать автоматически
Актобе
Алдан
Алматы
Алчевск
Архангельск
Астана
Астрахань
Атырау
Баку
Балашиха
Барнаул
Белгород
Бердянск
Бишкек
Владивосток
Владикавказ
Воркута
Воронеж
Горловка
Грозный
Донецк
Екатеринбург
Иваново
Ижевск
Иркутск
Казань
Калининград
Каменск-Уральский
Караганда
Каховка
Кемерово
Киров
Комсомольск-на-Амуре
Костанай
Краснодар
Красноярск
Красный луч
Ленск
Луганск
Магадан
Магнитогорск
Макеевка
Махачкала
Мелитополь
Минск
Мирный (Якутия)
Москва
Мурманск
Нерюнгри
Нижневартовск
Нижний Новгород
Нижний Тагил
Новая каховка
Новокузнецк
Новосибирск
Новый Уренгой
Норильск
Ноябрьск
Нур-Султан
Омск
Оренбург
Ош
Павлодар
Пермь
Петрозаводск
Петропавловск
Петропавловск-Камчатский
Псков
Ростов-на-Дону
Салехард
Самара
Санкт-Петербург
Саратов
Севастополь
Семей
Симферополь
Сочи
Ставрополь
Сургут
Сыктывкар
Тараз
Ташкент
Токмак
Томск
Тында
Тюмень
Ульяновск
Усинск
Усть-Каменогорск
Уфа
Хабаровск
Ханты-Мансийск
Херсон
Челябинск
Чита
Шымкент
Экибастуз
Энергодар
Южно-Сахалинск
Якутск
Ваш город
Горловка
Войти
Запасные части к тракторам на одном сайте
Отправить заявку


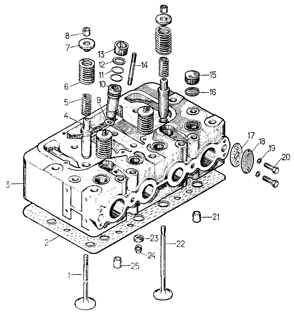
Головка цилиндров на Т-130


/
с НДС 20%
Описание
Головка цилиндров на Т-130
# Номер запчасти Наименование детали Кол-во в сборке
- 29-02-102СП Головка цилиндров 2
1 14-02-33-В 1 Клапан впускной 4
2 14-02-101СП Прокладка 2
3 14-02-27 Головка цилиндров 2
4 14-02-3 1 Втулка 8
5 38330 Пружина 8
6 38366 Пружина клапана 8
7 0489 Тарелка клапана 8
8 51-02-15 Сухарик 24
9 700-40-2253 Прокладка 4
10 14-02-30-3 Втулка 4
11 46764 Кольцо 8
12 16-02-30 Прокладка 4
13 14-02-31-1 Гайка 4
14 29466 Шпилька 4
15 14-02-46 Заглушка 8
16 14-02-47 Донышко 8
17 40157 Прокладка 2
18 0299 Заглушка 2
19 - Шайба 8Т 65Г 09 4
20 - Болт M8X20.58.019 4
21 02204 Дефлектор длинный 8
22 14-02-32 1 Клапан выпускной 4
23 40843 Кольцо 16
24 02218 Трубка 16
25 02205 Дефлектор короткий 8
1 При необходимости заказывать ремонтные комплекты (см. Перечень деталей ремонтных размеров).
Головка цилиндров