в двигателе ДЭТ
в электрооборудовании ДЭТ
в трансмиссии ДЭТ
в ходовой и несущей системе ДЭТ
в кабине ДЭТ
в гидросистеме ДЭТ
в бульдозерном оборудовании ДЭТ
С целью уменьшения массы и снижения инерционной нагрузки на тракторах ДЭТ-320 введена алюминиевая крыльчатка 749-04-181СП вентилятора охлаждения силового генератора взамен стальной 749-04-167СП. Крыльчатки взаимозаменяемы.
июнь 2007 г.
С целью повышения надежности на тракторах ДЭТ-320 взамен фильтра грубой очистки топлива 840.1105010СП установлен фильтр «SEPAR 2000».
Применение фильтра «SEPAR 2000» обеспечивает:
Установка нового фильтра повлекла за собой следующие изменения сопрягаемых деталей и сборочных единиц в топливной системе:
а) введены:
б) заменены:
в) аннулированы:
II квартал 2007 г.
С целью исключения перегрева и повышения долговечности регулятор напряжения РН-116 перенесен из блока сопротивлений 749-82-156СП в кабину трактора ДЭТ-320 на тумбу дополнительного сиденья 749-23-101СП.
2006 г.
Для удобства обслуживания трактора ДЭТ-320 и повышения надежности три блока предохранителей РР-12Е (2 шт.) и ПР-10А заменены одним новым блоком предохранителей 41.3722.
2006 г.
С целью повышения уровня комфортности в кабине трактора ДЭТ-320 на панели приборов установлен прикуриватель 11.3725.
2006 г.
На тракторах ДЭТ-320 для обеспечения надежного крепления и защиты от повреждения проводов и жгутов, проходящих через хомуты, введены разрезные трубки 305ТВ-40,20 (или ТВ-40Т,20) с обмоткой их лентой ПВХ.
май 2007 г.
Для сглаживания пиков напряжения зарядного генератора ГП-6,5 и повышения безотказности регулятора РН-116 введен фильтр 749-10-205СП.
Фильтр крепится с помощью двух болтов M6-6g×12.88.35.019 с шайбами 6Т 65Г 09:
октябрь 2007 г.
Для обеспечения надежности крепления и защиты от повреждения наружных проводов индукторного генератора ГИ 160-6 введены хомут 700-54-201-24 и прокладка 700-40-2654-01.
февраль 2008 г.
Для повышения надежности, в том числе удобства обслуживания трактора ДЭТ-320, семь блоков защиты БЗ-ЗО с предохранителями заменены одним блоком со штыревыми предохранителями 41.3722.
февраль 2008 г.
В связи с вводом на тракторах аккумуляторных батарей закрытого типа (с залитыми мастикой перемычки между банками) введены контакторнаые панели 749-82-169СП (на ДЭТ-320) и 748-82-420СП (на ДЭТ-250М2) стремя последовательно соединенными диодами Д232-80-6-В2 с охладителями 0331-80 взамен контакторнаых панелей 749-82-146СП (ДЭТ-320) и 748-82-414СП или 748-82-418СП (ДЭТ-250М2) с одним диодом Д161-320-ЗУХЛ2 с охладителем 0171-80-В2.
I квартал 2008 г.
С целью повышения надежности взамен регулятора РН-116 введен регулятор РН-116-01 с измененной электросхемой. Регуляторы взаимозаменяемы.
август 2008 г.
На тракторе ДЭТ-320 блок фар с фарами 3301.3711 заменен фарами 781.3711 с галогенными лампами.
апрель 2009 г.
Для обеспечения доступа через люк к регулировочным муфтам 748-17-364СП и снижения трудоемкости регулировок тяг в эксплуатации изменена длина тяг 749-17-155СП и 749-17-156СП привода управления трактором ДЭТ-320.
2006 г.
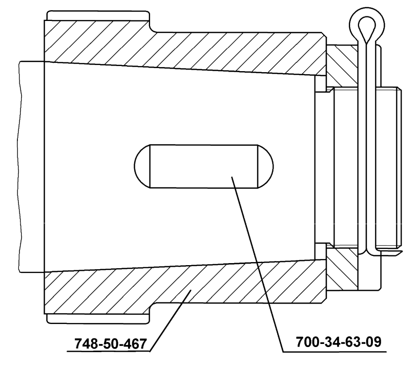
С целью повышения надежности соединения вала силового генератора ГПА-222 с муфтой 748-50-467 введена шпонка 700-34-63-09 (на тракторах ДЭТ-250М2 и ДЭТ-320).
2006 г.
С целью унификации деталей и повышения надежности фиксации рычага управления движением трактора ДЭТ-320 в мостике 749-17-144СП применен фиксатор 749-15-155СП.
2006 г.
С целью повышения надежности соединения фрикционной и соединительной муфт и унификации гаек, взамен гаек 2М18×1,5.6Н.12.45×019 установлены 700-30-2328 (6 шт.). При этом введены шайбы 18.01.019.
август 2007 г.
Для обеспечения четкости управляемости трактора ДЭТ-320 (ликвидации люфта рычага управления в транспортном положении) введено ограничение хода вилки 749-17-136СП в мостике 749-17-144СП за счет выполнения упора.
I квартал 2008 г.
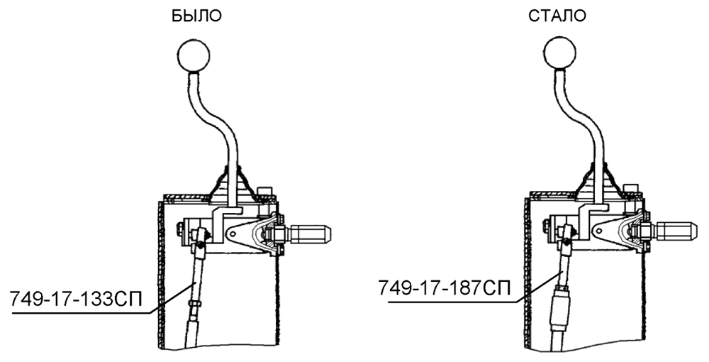
Для облегчения регулировки длин тяг при сборке и в эксплуатации (без отсоединения их от рычага) в приводе управления трактором ДЭТ-320 взамен тяг 749-17-133СП введены тяги 749-17-187СП со стяжкой с правой и левой резьбами.
III квартал 2008 г.
Ввод упрощенной конструкции щупа 748-50-233СП в редуктор привода генераторов 748-50-209СП, 749-50-157СП с целью снижения трудоемкости его изготовления. Взаимозаменяемость сохранена.
II квартал 2010г.
С целью защиты от вандализма введено пломбирование крышки 748-20-229СП люка в наклонном листе рамы трактора.
Пломба крепится с помощью проволоки и вновь введенного болта 700-28-915 с отверстием в головке к ушку для пломбирования, приваренному к крышке.
март 2007 г.
С целью повышения коррозионной стойкости введено цинкование поверхности шайбы 700-31-440 опорного катка.
март 2007 г.
С целью повышения прочности проушин звеньев 748-22-75/76 гусеничных цепей трактора ДЭТ-250М изменены размеры поковки.
ноябрь 2007 г.
С целью повышения герметичности и надежности катков на тракторах ДЭТ-250М и ДЭТ-320 установлены катки Кат 33-169-01СП с уплотнением DUO-CONE взамен катков 748-21-169СП.
III квартал 2008 г.
С целью исключения течи смазки, увеличения срока службы и унификации направляющих колес установлены направляющие колеса 748-31-195СП с уплотнением DUO-CONE взамен направляющих колес 748-31-185СП (на ДЭТ-250М2) и 748-31-191СП (на ДЭТ-320).
III квартал 2008 г.
С целью улучшения доступа к крану слива воды из системы охлаждения двигателя на тракторе ДЭТ-320 изменено положение лючка в бампере 749-20-349.
январь 2009 г.
Для повышения надежности крепления прикуривателя на панели приборов введена стальная шайба 749-93-126.
апрель 2007 г.
Для повышения прочности платформы кабины трактора ДЭТ-320 введены две дополнительные балки.
Балка 749-58-124 замена более жесткой балкой 749-58-149.
май 2007 г.
Введены новые болты в установке сиденья водителя.
IV квартал 2007 г.
С целью повышения надежности запирающего устройства дверей кабины трактора установлены ручки (с замками) 80-61105300 взамен замков 748-59-700СП, 748-59-699СП (на ДЭТ-250) и замков 714-59-сб180, 714-59-сб179 (на ДЭТ-320).
При этом двери 748-59-709СП, 748-59-709-01СП заменены соответственно на двери 748-59-723СП, 748-59-723-01СП (на ДЭТ-250) и двери 714-59-сб201,714-59-сб200 - соответственно на двери 749-59-724СП, 749-59-724-01СП (на ДЭТ-320).
сентябрь 2008 г.
Для улучшения обогрева кабины трактора ДЭТ-320 устанавливается отопитель-вентилятор ZENITH 8000.
апрель 2009 г.
На тракторе ДЭТ-320 изменен внутренний интерьер кабины:
I квартал 2010 г.
Для повышения надежности и ремонтопригодности ввод двух шестеренных насосов НШ-100 взамен аксиально-поршневого насоса 933.02.019 (на тракторах ДЭТ-250М2).
2006 г.
С целью унификации труб гидропривода на тракторе ДЭТ-320 взамен труб 748-99-138СП и 748-99-139СП применены трубы 748-99-615СП и 748-99-621СП трактора ДЭТ-250М2.
II квартал 2007 г
С целью защиты деталей и узлов ходовой системы (гусениц, натяжных колес и опорных катков) от камней при бульдозировании, установлены защитные кожухи на толкающие брусья отвалов бульдозеров ДЭТ-250М2Б и ДЭТ-320Б.
2006 г.





















