Запасные части ЧТЗ Запасные части ЧТЗ
Горловка
Например:
Актобе
Алдан
или
Выбрать автоматически
Актобе
Алдан
Алматы
Алчевск
Архангельск
Астана
Астрахань
Атырау
Баку
Балашиха
Барнаул
Белгород
Бердянск
Бишкек
Владивосток
Владикавказ
Воркута
Воронеж
Горловка
Грозный
Донецк
Екатеринбург
Иваново
Ижевск
Иркутск
Казань
Калининград
Каменск-Уральский
Караганда
Каховка
Кемерово
Киров
Комсомольск-на-Амуре
Костанай
Краснодар
Красноярск
Красный луч
Ленск
Луганск
Магадан
Магнитогорск
Макеевка
Махачкала
Мелитополь
Минск
Мирный (Якутия)
Москва
Мурманск
Нерюнгри
Нижневартовск
Нижний Новгород
Нижний Тагил
Новая каховка
Новокузнецк
Новосибирск
Новый Уренгой
Норильск
Ноябрьск
Нур-Султан
Омск
Оренбург
Ош
Павлодар
Пермь
Петрозаводск
Петропавловск
Петропавловск-Камчатский
Псков
Ростов-на-Дону
Салехард
Самара
Санкт-Петербург
Саратов
Севастополь
Семей
Симферополь
Сочи
Ставрополь
Сургут
Сыктывкар
Тараз
Ташкент
Токмак
Томск
Тында
Тюмень
Ульяновск
Усинск
Усть-Каменогорск
Уфа
Хабаровск
Ханты-Мансийск
Херсон
Челябинск
Чита
Шымкент
Экибастуз
Энергодар
Южно-Сахалинск
Якутск
Ваш город
Горловка
Войти
Запасные части к тракторам на одном сайте
Отправить заявку


Изменения в тракторах Т10 и Т10М


/
с НДС 20%
Описание

в двигателе Т10
в трансмиссии Т10
в ходовой системе Т10
в кабине Т10
в приборах и электрооборудовании Т10
в гидросистеме и управлении трактором Т10
в навесном оборудовании Т10
в компоновке трактора Т10

Изменения в двигателе Т10

Для улучшения смазывания опоры валика привода магнето в поддоне 17-01-110 пускового двигателя аннулировано переливное отверстие для слива масла из корпуса распределительных шестерен.

февраль 2002 г.

С целью повышения прочности введено ребро жесткости на коротком плече коромысла 14-04-21-2 клапана механизма газораспределения.

март 2002 г.

В турбокомпрессоре ТКР 8,5С заменено уплотнительное кольцо 700-40-7385 из обычной резины на силиконовое 700-40-9198. Кольца взаимозаменяемы.

апрель 2002 г.

Изменена конструкция колеса компрессора ТКР 8,5С с улучшением прочностных свойств материала. Обозначение колеса 51-54-7 изменено на 51-54-23. Взаимозаменяемость колес сохраняется.

апрель 2002 г.

Заменен диск 738-4СП муфты сцепления пускового двигателя с приклеенными фрикционными накладками клепаным диском 17-73-139СП, с целью исключения случаев отклеивания фрикционных накладок и повышения надежности узла. Взаимозаменяемость дисков сохраняется.

Изменения в диске муфты сцепления ПД-23

апрель 2002 г.

Аннулирован кронштейн 51-09-124 бензобачка пускового двигателя на тракторах с электростартерной системой пуска дизеля.

май 2002 г.

Заменен латунный масляный радиатор 50-09-151-01СП производства ОАО «Композит» г. Екатеринбург (комплект 50-311СП) стальным 130У.09.012 производства завода «Радиатор» г. Бугуруслан (комплект 50-303СП), с сохранением взаимозаменяемости комплектов.

июль 2002 г.

С целью повышения надежности уплотнения под турбокомпрессор ТКР 8,5С введена прокладка 700-40-8750СП с окантовкой взамен прокладки 700-40-7386, без потери взаимозаменяемости.

сентябрь 2002 г

Заменены болты М8х20.58.019 с шайбами 8Т 65Г 09 ГОСТ6402-70 крепления крышки 16-07-9 механизма натяжения вентилятора на винты с потайной головкой В2М8-6g×18.58.019 с целью исключения случаев задевания лопастей вентилятора за головки болтов.

сентябрь 2002 г

С целью улучшения работы системы охлаждения дизеля введены термостаты двойного действия ТС-107-130.6100-02 взамен ТС-108-130. 6100-02, с изменением размеров трубы 51-08-27, в которую они вставляется, и сохранением ее обозначения.

Введение теростата двойного действия

сентябрь 2002 г

С целью снижения номенклатуры деталей и повышения надежности уплотнения в месте перехода воды из блока в головку дизеля взамен медной трубки 02218 с резиновым кольцом 40843 применено уплотнительное кольцо 700-40-9163 из силиконовой резины, без потери взаимозаменяемости.

Замена трубки на уплотнитеьное кольцо

сентябрь 2002 г

Чугунные пробки 014834СП и 67118 для слива масла из картера дизеля заменены стальными, соответственно 65-01-101СП и 67118-1, изготовленными методом точного литья, без потери взаимозаменяемости.

октябрь 2002 г.

Для уплотнения валика декомпрессора и устранения утечек масла в блоке дизеля введена резинокаркасная армированная манжета 1.2-18x35-1 ГОСТ 8752-79 вместо манжеты 700-40-5840СП. Указанные манжеты взаимозаменяемы.

октябрь 2002 г.

В турбокомпрессор с целью повышения надежности уплотнения со стороны компрессора введено два уплотнительных кольца 51-54-10 вместо одного, с изменением посадочных размеров на кольце 51-54-15.

Введение двух уплотнительных колец вместо одного

октябрь 2002 г.

С целью снижения трудоемкости технического обслуживания и повышения надежности введена проточная система смазки топливного насоса: масло из корпуса регулятора по сверлениям в нем и втулке переднего подшипника кулачкового вала, с помощью маслогонной резьбы на шейке кулачкового вала, поступает в полость корпуса топливного насоса на смазку, откуда по трубопроводу сливается в картер дизеля.

Введение проточной системы смазки топливного насоса

При этом в конструкцию введен ряд изменений, основные из которых:

  • аннулированы:
    • переливное отверстие 0 5 мм в прокладке 40743;
    • сальник 40976СП в корпусе регулятора;
    • шариковый клапан Б-200 ГОСТ 372-2-81 с заменой ступенчатого отверстия на прямое 0 5,5 мм.

  • изменено направление (с левого на правое) маслогонной резьбы на передней шейке кулачкового вала 51-67-23.

  • введены:

    а) трубопровод слива, состоящий из:

    • трубы 51-41-139СП (1 шт.);
    • трубы 51-41-152СП (1 шт.);
    • рукава 700-40-20010 (1 шт.);
    • гайки накидной 700-41-3565 (1 шт.);
    • хомута червячного S5 Т20-32/9 (2 шт.) фирмы «Норма», ФРГ.

    б) пробка 379 слива грязного масла из корпуса регулятора.

Для поставки в запасные части к ранее выпущенным тракторам (двигателям) предусмотрен комплект 51-05-19СП - регулятор.

октябрь 2002 г.

С целью повышения надежности уплотнения резиновое кольцо 46764 под стакан форсунки заменено селиконовым 700-40-9288. Кольца взаимозаменяемы

ноябрь 2002 г.

С целью повышения надежности уплотнения вала редуктора пускового двигателя кожаный сальник 40263СП заменен резинокаркасной манжетой 2.2-50x70-1 ГОСТ 8752-79, с изменением посадочных размеров в крышке 76105. Новая крышка имеет обозначение 76105-01.

ноябрь 2002 г.

С целью повышения надежности уплотнения валика механизма проворачивания коленчатого вала пускового двигателя, кожаный сальник 40251СП заменен резинокаркасной манжетой 2.2-22x40-2 ГОСТ 8752-79, с изменением размеров и обозначения деталей:

  • корпуса 17-74-199СП на 17-74-210СП;
  • валика 17-74-282 на 17-74-282-01;
  • втулки 17-74-283 на 17-74-283-01.

ноябрь 2002 г.

С целью улучшения операций техобслуживания установка фильтра грубой очистки топлива перенесена на маслораспределительную плиту, что повлекло за собой следующие изменения:

Перенос установки фильтра грубой очистки топлива

  • заменены:
    • кронштейн 51-70-34 на 51-70-66;
    • трубка 51-41-137СП, соединяющая фильтр с топливоподкачивающим насосом, на трубку 51-70-151СП.

  • аннулированы:
    • болт 700-28-2392 (2 шт.);
    • гайка 700-30-2099 (2 шт.).

  • введены вновь:
    • гайка 3084 (2 шт.);
    • шпилька 700-29-2463 (2 шт.).

ноябрь 2002 г.

С целью повышения надежности уплотнения валика привода магнето пускового двигателя, кожаный сальник 40251СП заменен резинокаркасной манжетой 2.2-22x40-2 ГОСТ 8752-79, с изменением посадочных размеров в корпусе распределительных шестерен 17-01-114 и на валике 10568. Новые корпус и валик имеют обозначения соответственно 17-01-114-01 и 10568-01.

декабрь 2002 г.

С целью устранения самоотворачивания шпильки 01403 крепления крышек коренных подшипников и шпильки 01434, 2971 головок цилиндров устанавливаются на герметик «Ана-терм 5МД».

январь 2003 г.

С целью улучшения запуска пускового двигателя П-23У карбюратор 11.1107.011 (17-05-185СП) мембранного типа заменен поплавковым К-125Л.

карбюратор 11.1107.011 заменён на К-125Л

Применение поплавкового карбюратора повлекло за собой следующие изменения сопрягаемых деталей и сборочных единиц:

а) заменены:

  • коллектор 17-05-174 на 17-05-174-01;
  • воздухоочиститель 17-05-184СП на 17-05-174СП;
  • тяга 51-74-220СП на 51-74-142СП;
  • прокладка 700-40-8152 на 46160;
  • тяга 51-74-220СП на 51-74-142СП;
  • трубка 51-25-150СП на 51-252146СП;

б) введены вновь:

  • щиток 17-05-155С Б;
  • хомут 18-26-320СП;

в) аннулированы:

  • кронштейн 17-05-182СП;
  • прокладка 700-40-8153.

Установка карбюратора К-125Л на пусковом двигателе дизелей выпуска до 2003 года возможно в комплекте с сопрягаемыми деталями.

январь 2003 г.

С целью повышения износостойкости введены металлокерамические диски 50-16-111СП бортовых фрикционов взамен дисков 24-16-1ОЗСП с фрикционными накладками. Диски взаимозаменяемы.

январь 2003 г.

Для удобства техобслуживания сливная пробка 700-37-2281 в топливном фильтре грубой очистки заменена краном ПП6-1 ОСТ 37.001.241-81.

пробка 700-37-2281 заменена краном ПП6-1 ОСТ 37.001.241-81

март 2003 г.

С целью повышения надежности уплотнения кожаный сальник 40967СП в корпусе регулятора заменен резиновой армированной манжетой 1.2-15x30-1 ГОСТ 8752-79 с изменением посадочного размера в корпусе.

апрель 2003 г.

С целью забора воздуха из зоны меньшей запыленности увеличена высота воздухозаборника 51-05-232 со 150 до 300 мм. Обозначение и взаимозаменяемость воздухозаборников сохранены.

1 квартал 2003 г.

Для стабилизации выступания гильзы цилиндра над блоком и обеспечения надежности уплотнения газового стыка аннулирована медная прокладка 40201 под буртом гильзы с изменением глубины выточки в блоке.

аннулирована медная прокладка 40201

1 квартал 2003 г.

С целью повышения качества уплотнения пятого коренного подшипника уплотнительная нить заменена анаэробной прокладкой - герметиком «Анатерм 501М».

апрель 2003 г.

Для улучшения уплотнения аннулировано медно-асбестовое кольцо 40927СП под сливную пробку картера. Уплотнение осуществляется резиновым кольцом 46588.

аннулировано медно-асбестовое кольцо 40927СП

2 квартал 2003 г.

С целью обеспечения стабильности и бесступенчатой затяжки гаек крепления крышек коренных подшипников отменена их шплинтовка, при этом аннулированы шплинты 4x40, гайки 30210 заменены гайками 30211-02 и введены закаленные шайбы 700-31-2630.

гайки 30210 заменены гайками 30211-02

июль 2003 г.

Для улучшения экологических показателей дизеля Д 180 (уменьшения токсичности выхлопных газов) и снижения давления картерных газов применены поршни с увеличенной камерой сгорания и уменьшенным торцевым зазором в соединении поршень-кольцо.

октябрь 2003 г.

С целью обеспечения плавной регулировки давления масла в главной масляной магистрали дизеля внедрен регулировочный узел сливного клапана масляного фильтра 51-09-255СП, включающий в себя:

  • винт 65-09-9 (1 шт.);
  • наконечник 02277 (1 шт.);
  • кольцо 40912 (2 шт.);
  • гайку шестигранную специальную ГПШ М10х1 (1 шт.);
  • пробку 700-37-2305 (1 шт ).

внедрен регулировочный узел сливного клапана масляного фильтра 51-09-255СП

При этом пробка 700-37-2105 и регулировочные шайбы 31312 аннулированы.

декабрь 2003 г.

С целью уменьшения износа штанг толкателей внедрен регулировочный винт 65-04-2 с улучшенной трассой подвода смазки взамен винта 51-04-44. Винты взаимозаменяемы.

декабрь 2003 г.

Для исключения попадания продуктов отстоя в масляную магистраль двигателя, в каналы корпуса фильтра 51-09-255СП, ведущие к перепускному клапану, установлены трубки 65-09-42 и 65-09-43, создающие полость отстоя (трубка 65-09-43 на рисунке не показана).

установлены трубки 65-09-42 и 65-09-43

январь 2004 г

С целью устранения поломки шплинтов 2x12.019, фиксирующих оси грузов и сухарей регулятора дизеля, они заменены отожженными шплинтами 51-06-44.

март 2004 г

В подшипниковом узле турбокомпрессора ТКР 8,5С произведена замена подшипников 51-54-8 на 51-54-37 с установкой дистанционной втулки 51-54-36 вместо трех стопорных колец 700-39-503, что позволило снизить уровень вибрации ротора и повысить долговечность работы узла.

замена подшипников 51-54-8 на 51-54-37

апрель 2004 г.

С целью устранения перетекания масла из картера пускового двигателя в муфту сцепления, при работе трактора на уклонах (пусковой двигатель не работает), для уплотнения хвостовика коленчатого вала вместо маслогонной резьбы и шайбы 03176 применены резинокаркасная манжета 1.2-55x80-1 ГОСТ 8752-73 и крышка 17-03-23.

манжета 1.2-55x80-1 ГОСТ 8752-73 и крышка 17-03-23

Для замены коленчатого вала на ранее выпущенных пусковых двигателях необходимо заказывать «комплект 17-03-26СП, вал коленчатый», включающий манжету, крышку и коленчатый вал без маслогонной резьбы.

июнь 2004 г

Для исключения переполнения маслом среднего корпуса турбокомпрессора ТКР 8,5С и утечки через уплотнения при работе на склонах, введен слив масла из турбокомпрессора в блок дизеля вместо слива в основание колпака 51-04-27.

июнь 2004 г

С целью повышения надежности и упрощения конструкции введено крепление стартера дизеля к кожуху маховика с помощью фланца 65-10-1 и поддерживающего кронштейна 65-10-2 взамен крепления с помощью кронштейна 59-10-6 и двух хомутов 16-25-102СП.

введено крепление стартера дизеля к кожуху маховика

июль 2004 г

Для устранения утечки моторного масла в кожух маховика при работе на уклонах, установлена трубка принудительного отсоса масла 65-09-126СП из пятого коренного подшипника в масляный насос.

установлена трубка принудительного отсоса масла 65-09-126СП

август 2004 г

Для уменьшения трудоемкости технического обслуживания и упрощения конструкции в приводе насоса НШ-100 аннулированы заливное и контрольное отверстия, закрывающие их соответственно пробка-сапун 18-26-286СП и пробка 37121, уплотнительные прокладки под них 700-42-2631-01 и 700-42-2631, а также две уплотнительные манжеты 1.2-90x120-4.

в приводе насоса НШ-100 аннулированы заливное и контрольное отверстия

Смазка деталей привода гидронасоса осуществляется картерным маслом двигателя. Фланец 18-26-801, в котором были выполнены заливное и контрольное отверстия, заменен фланцем 18-26-802.

октябрь 2004 г

Для улучшения уплотнения носка коленчатого вала дизеля в кожухе распределительных шестерен вместо манжеты 700-40-9176 применена манжета 2.1-68x92-4 ГОСТ 8752-73 из фторкаучука. Манжеты взаимозаменяемы.

ноябрь 2004 г

Для удобства обслуживания пробка 65-01-98 маслозаливной горловины двигателя заменена пробкой 65-01-111СП с проушиной.

пробка 65-01-98 заменена пробкой 65-01-111СП с проушиной

декабрь 2004 г.

С целью повышения надежности крепления шестерни распределительного вала, увеличена площадь контакта гайки 3055 с шестерней за счет изменения размера гайки под ключ с 50 до 55 мм. Обозначение гайки сохранено.

декабрь 2004 г.

Введена проставка 65-09-128-01СП между корпусом масляного фильтра и маслораспределительной плитой, обеспечивающая слив масла от сливного клапана масляного фильтра в среднюю часть картера.

Введена проставка 65-09-128-01СП

декабрь 2004 г.

С целью повышения качества крепления рукавов 700-46-2308, в установке нового водяного радиатора 64-08-320-01СП применены винтовые хомуты 37-26-139СП взамен ранее устанавливаемых ленточных хомутов 700-41-2235-27СП.

январь 2005 г.

С целью устранения утечек введено нанесение герметика «Компаунд КЛТ-75Т» ТУ 38.103.606-86 или клея-герметика «Полисил» ТУ 2252-001-51221436-00 по ИЛ-759-88 на поверхности патрубков под установку рукавов 700-40-3503 и 700-40-2041 системы охлаждения.

январь 2005 г.

С целью уменьшения износа деталей в начальный период эксплуатации трактора установлен ограничитель мощности - специальный винт 356-35 в крышке корректора подачи топлива с контргайкой 356-06. Крышка 14-67-2-2 заменена крышкой 14-67-2-2-01.

установлен ограничитель мощности

Винт ограничивает ход рейки топливного насоса в сторону увеличения подачи топлива. На период обкатки (первые 50 моточасов) винт пломбируется. После обкатки упор винта ограничителя мощности удаляется.

апрель 2005 года.

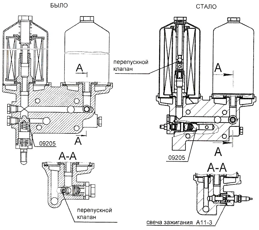
В масляном фильтре системы смазки двигателя введены следующие изменения:

  • с целью исключения ускоренного износа деталей дизеля при срабатывании перепускных клапанов, последние перенесены в зону чистого масла;
  • с целью разгрузки фильтрующих элементов сливной клапан 09205 с регулировочным узлом перенесены в зону неочищенного масла;
  • с целью исключения случаев работы дизеля на нефильтрованном масле введен датчик сигнализатора засоренности фильтрующих элементов. В качестве датчика используется свеча зажигания А11-3 без бокового электрода.

изменения в масляном фильтре

апрель 2005 года.

С целью приведения в соответствие нормированного объема заливаемого в картер дизеля масла (32+2 л) и положения метки «Верх» на масломерной линейке, метка перенесена на 40 мм вверх. На такую же величину перенесена вверх метка «Низ» и уменьшена общая длина линейки.

метка перенесена на 40 мм вверх

июль 2005 г.

Для улучшения теплового режима дизеля и трансмиссии, а также с целью сокращения номенклатуры изделий, взамен всех ранее устанавливаемых на тракторы радиаторов введены два новых (водяной и масляный) производства ООО «Композит» (г. Екатеринбург):

  • водяной радиатор 64-08-320СП - на тракторы Т10М с «прямым» потоком вентилятора и на тракторы Т10);
  • водяные радиаторы 64-08-320-01СП - на тракторы Т10М с «обратным» потоком вентилятора;
  • водяной радиатор 64-08-320-02СП - на тракторы Т10М и Т12 с двигате лем ЯМЗ;
  • масляный радиатор 65-09-131СП - на все тракторы с гидромеханической трансмиссией;
  • масляный радиатор 64-09-131-01СП - на все тракторы с механической трансмиссией.

В новых водяном и масляном радиаторах увеличено число трубок (за счет уменьшения шага с 15 до 10 мм), что увеличивает жесткость радиатора и теплосъем.

Взаимозаменяемость радиаторов ранее устанавливаемых на тракторы и новых сохранена.

август 2005 г.

С целью экономии металла центральный маслоприемник 51-09-150СП заменен малогабаритным 51-09-264СП с сохранением взаимозаменяемости.

маслоприемник 51-09-150СП заменен

август 2005 г.

Для уменьшения износа трущихся поверхностей дизеля при запуске вследствие сухого трения на всех дизелях устанавливается маслозакачивающий насос, который необходимо включать перед каждым пуском дизеля.

устанавливается маслозакачивающий насос

Включение подачи топлива можно осуществлять только после того, как давление в системе смазки достигнет 0,4 кг/см² и перестанет гореть на щитке приборов контрольная лампа сигнализатора аварийного давления масла перед ТКР.

сентябрь 2005 г.

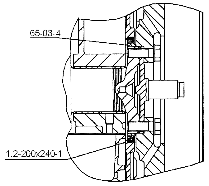
Для устранения утечки масла через пятый коренной подшипник коленчатого вала дизеля, для его уплотнения применена резинокаркасная манжета 1.2-200x240-1 ГОСТ 8752-79 устанавливаемая в расточку кожуха маховика. При этом на фланец коленчатого вала устанавливается втулка 65-03-4, а толщина ступичной части маховика уменьшена на 13 мм.

применена резинокаркасная манжета

сентябрь 2005 г.

С целью защиты рынка продукции введена пломба Шип-Бэгсил (ТУ 4180-007-13802451-05) дизеля Д180М (Д180).

Место установки пломбы: блок дизеля со стороны топливного насоса над маслозаливной горловиной.

сентябрь 2005 г.

Аннулированы фильтр 17-05-180СП и отверстие для его установки в коллекторе пускового двигателя с целью исключения возможности подсоса пыли в цилиндры, в случае утери фильтра.

Аннулирован фильтр 17-05-180СП

октябрь 2005 г.

По требованию потребителя на двигатель может быть установлен вентилятор толкающего типа, создающий «обратный» поток охлаждающего воздуха - от капота к радиаторам.

«Обратный» поток обеспечивается установкой крестовины вентилятора 65-07-114СП с болтами М10х30, «прямой» - крестовины 65-07-103СП, кольца 16-07-13, двух проставок 65-07-6 и болтов М10х45.

установлен вентилятор толкающего типа

Система охлаждения с «обратным» потоком воздуха уменьшает засоряемость радиаторов и тепловую нагрузку, воздействующую на кабину в жаркое время года.

Одновременно введен унифицированный шкив 65-07-48 привода вентилятора с установкой подшипников 306, вместо ранее устанавливаемого шкива 51-07-66 с подшипниками 206.

декабрь 2005 г.

Для предпусковой подготовки и поддержания оптимального теплового режима системы охлаждения двигателя на тракторах с дизелем ЯМЗ-236Н-3 устанавливается жидкостный подогреватель «HYDRONIC 35» (Германия), на тракторах с двигателем Д180 с электростартерной системой пуска возможна установка его по требованию заказчика.

устанавливается подогреватель HYDRONIC 35

Подогреватель «HYDRONIC 35» имеет удобный и простой запуск из кабины; весь цикл запуска, а затем и выключения осуществляются автоматически без участия оператора; расход топлива на номинальном режиме - 3,5 кг/ч.

апрель 2006 г.

1.1. Для исключения переполнения маслом среднего корпуса турбокомпрессора К-27 и утечки через уплотнения при работе на склонах, введен слив масла из турбокомпрессора в блок дизеля по трубопроводу 700-21-6551СП, вместо слива в головку цилиндров.

слив масла по трубопроводу 700-21-6551СП

При этом средний корпус турбокомпрессора повернут.

корпус турбокомпрессора повернут

май 2006 г.

В маслозакачивающем насосе МЗН-4 применен герметизированный электродвигатель ДП-112, что исключило возможность выхода его из строя из-за попадания воды и грязи при эксплуатации трактора.

ноябрь 2006 г.

Введена запрессовка сухарей 16-03-13 в маховик с аннулированием стопорных пластин 16-03-12 и гаек 3011.

Введена запрессовка сухарей

декабрь 2006 г.

Для стабилизации давления в масляной магистрали дизеля изменена величина давления открытия сливного клапана масляного фильтра (7 - 8 кг/см² вместо 4 - 5 кг/см²).

декабрь 2006 г.

1.1. Для упрочнения головки цилиндров увеличена на 4,0 см ее толщина в районе клапанной перемычки, что повлекло за собой замену втулки форсунки 51-02-48 и прокладки под ней 51-02-47 втулкой 51-02-48-01 и прокладкой 51-71-24.

замена втулки форсунки 51-02-48

ноябрь 2007г.

Введена объемная термообработка осей вентилятора 16-07-22 и осей натяжного ролика 16-07-24.

декабрь 2007г.

Для повышения надежности работы турбокомпрессора в систему смазки введен дополнительный масляный фильтр 2105.1012005-04.

введен фильтр 2105.1012005-04

февраль 2008г.

Для повышения степени очистки воздуха и облегчения обслуживания предохранительные фильтр-патроны 51-05-310СП воздухоочистителя заменены бумажными сменными А41.20.000-01.

введён фильтр-патроны А41.20.000-01

апрель 2008 г.

С целью ликвидации поломок вертикального вала регулятора дизеля из-за поломки шплинта фиксации оси грузика введена запрессовка оси в грузик с аннулированием шплинтов 2x12.019 и шайб 31386-1.

введена запрессовка оси

апрель 2008 г.

С целью повышения прочности и устранения течи масляных радиаторов механической трансмиссии устанавливаются стальные радиаторы ТГС 100.1013.4000 производства ОАО «БМЗ» (г. Бузулук) взамен ранее устанавливаемых латунных радиаторов 50-09-151-01СП (или 64-09-131-01СП).

апрель 2008 г.

С целью повышения надежности уплотнения введена прокладка 51-02-С13 под головку цилиндров двигателя с увеличенной толщиной гуммированного слоя и окантовкой «окон» для прохода штанг толкателей взамен прокладки 51-02-С13В. Одновременно отменено применение герметика при установке прокладки.

август 2008 г.

Для повышения надежности уплотнений прокладки 40741-1,40742, 40745, 40746 топливного насоса и прокладки 40748, 40963 регулятора дизеля из паринита заменены соответственно на прокладки 40741-2, 40742-1,40745-1,40746-1,40748-1,40963-1 из резино-пробковой смеси с отменой применения герметика при установке прокладок

август 2008 г.

С целью обеспечения бесперебойной работы в ЗИП дизеля дополнительно включены: форсунка 14-69-117-1 СП, кольцо 700-40-2010-01, детали уплотнения водяного насоса (кольца 51-08-45 и 700-58-2405, пружина 700-38-2235, гофр уплотнения 700-40-2992-1), свеча зажигания А11-3, кольца уплотнительные под головку цилиндров 700-40-9163.

сентябрь 2008 г.

Для устранения течи топлива между секциями и корпусом топливного насоса установлены прокладки 65-67-38.

устранения течи топлива

май 2008 г.

С целью устранения течи масла в зоне носка коленчатого вала в кожухе шестерен распределения установлены две манжеты 2.1-68x92-4 вместо одной.

сентябрь 2008 г.

Изменена конструкция механизма проворачивания коленчатого вала пускового двигателя дизеля Д180.

выведен наружу вал

В кожухе шестерен распределения выведен наружу вал, имеющий на конце шестигранник S=27 мм, за который можно провернуть коленчатый вал имеющимся в ЗИПе торцевым ключом.

Проворачивать при выключенном магнето.

Запуск пускового двигателя производится стартером.

октябрь 2008 г.

Для устранения попадания воды и грязи в маслозакачивающий насос (МЗН) он перенесен на 220 мм выше с креплением на крышку люка блока дизеля Д180.

насос (МЗН) перенесен

ноябрь 2008 г.

На тракторах Т0М с двигателем ЯМЗ-236 и Т12 кронштейн 64-74-147СП крепления троса дистанционного управления двигателем, с целью унификации с деталями механизма управления трактора Т11, заменен кронштейном 64-74-87, при этом болты М10-6g×60.58.019 заменены болтами М10-6g×25.58.019, гайки М10-7Н.6.019 аннулированы.

кронштейн 64-74-147СП заменен

1 квартал 2009 г.

С целью повышения прочности и устранения течи масляных радиаторов гидромеханической трансмиссии тракторов Т10М, Т11 и Т12 устанавливаются алюминиевые радиаторы БТ10-1013010 (производства Бугурусланского завода «Радиатор») взамен ранее устанавливаемых латунных радиаторов 64-09-131СП.

апрель 2009 г.

Для улучшения условий работы оператора выхлоп пускового двигателя П23У отведен вниз в зону картера дизеля Д180.

выхлоп двигателя П23У отведен вниз

май 2010г.

С целью улучшения условий работы оператора и обеспечения слива моторного масла в тару без потерь сливные пробки картера дизеля заменены клапанами, а в ЗИП введен рукав сливной.

сливные пробки картера заменены клапанами

апрель 2010г.

На тракторе Т11 с двигателем Д180М1 взамен серийного воздухоочистителя 51-05-215СП устанавливается воздухоочиститель «IQORON 10» фирмы MANN+HUMMEL GmbH.

вместо 51-05-215СП устанавливается IQORON 10

IV квартал 2009 года.

Для повышения надежности соединений водяных трасс тракторов введены червячные хомуты фирмы «NORMA» (Германия) шириной ленты 12 мм взамен 9 мм.

2 квартал 2010 г.

На тракторах типа Т11 и Т13 с двигателями ЯМЗ-236 взамен воздухоочистителя собственного изготовления устанавливается воздухоочиститель «Europiclon 600» фирмы MANN+HUMMEL GmbH с пластмассовым корпусом. 

устанавливается воздухоочиститель Europiclon 600

Новый воздухоочиститель более компактный при одинаковой пылеёмкости и имеет меньшую стоимость.

IV квартал 2010 г.

С целью унификации шатунных вкладышей пускового двигателя П-23У внедрен нижний шатунный вкладыш унифицированный с верхним шатунным вкладышем.

внедрен нижний шатунный вкладыш

октябрь 2011 г.

Для исключения пробуксовки муфты сцепления пускового агрегата изменен момент включения на рычаге муфты сцепления с 5 ... 7 кг-м на 9 ... 11 кг м.

октябрь 2011 г.

На верхних шатунных вкладышах дизеля изменен диаметр маслопроводящего отверстия с ø12 мм на ø16 мм.

изменен диаметр маслопроводящего отверстия

март 2011г.

Для повышения надежности уплотнения газового стыка между головкой цилиндра и блоком дизеля введена прокладка трехслойная.

введена прокладка трехслойная

апрель 2013г.

Для повышения прочности коленчатого вала 03341 изменен радиус изготовления галтелей на шатунных шейках с одновременным изменением фаски на шатуне 03344.

изменен радиус изготовления галтелей

декабрь 2012г.

Для увеличения срока службы диска сцепления на крестовине детали 17-73-57 введена выточка ø72 мм, глубиной 2,5 мм.

введена выточка

январь 2013г.

С целью улучшения очистки топлива на тракторах типа Т10М, Т12, Т11 и Т14 с двигателями ЯМЗ-236 применен фильтр «PreLine 270» фирмы MANN+HUMMEL GmbH взамен фильтра грубой очистки топлива, поставляемого совместно с двигателем ЯМЗ-236.

применен фильтр PreLine 270

Применение фильтра «PreLine 270» обеспечивает:

  • высокую степень отделения содержащихся в топливе воды и загрязнений;
  • возможность подогрева топлива при минусовых температурах, что предотвращает образование парафина в фильтре;
  • возможность ручной прокачки топлива для удаления воздуха из системы.

III квартал 2013 год.

На тракторах типа Т10М и Т12 с двигателями ЯМЗ-236 взамен воздухоочистителя собственного изготовления установлен воздухоочиститель «Europiclon 600» фирмы MANN+HUMMEL GmbH с пластмассовым корпусом. Новый воздухоочиститель более компактный при одинаковой пылеёмкости и имеет меньшую стоимость.

III квартал 2013 год.

С целью повышения надёжности системы охлаждения на тракторах с двигателями ЯМЗ-236 применён фронтальный радиатор фирмы «HYDAC».

применён фронтальный радиатор HYDAC

Применение фронтального радиатора обеспечивает:

  • повышенный теплосъём;
  • высокие прочностные свойства;
  • облегчает очистку радиатора.

2013 г.

Для улучшения герметичности и удобства монтажа – демонтажа трасс выпуска моторных газов тракторов Т10М, Т12, Т11 и Т14 применен силовой хомут V-115AW4 крепления металлорукава к патрубкам выпускной системы.

Установка силового хомута V-115AW4

2015 г.

Изменения в трансмиссии Т10

С целью повышения долговечности механизма управления муфтой сцепления проведены конструктивные усовершенствования:

  • введено фланцевое крепление стакана опоры рычага выключения муфты сцепления вместо закладного стакана, с изменением его обозначения 50-15-27 на 50-15-166СП;

  • установленная во втулку 50-15-20 ось 24-15-36 с рычагами 24-15-129 и 24-15-63-1 заменена валиком 50-15-142 с рычагом 50-15-51. Валик установлен в двух втулках 50-15-194 и 50-15-20 (входящих во втулку 50-15-162СП), смазываемых через масленку 1.3 Ц6 ГОСТ 19853-74.

Усовершенствования МУ муфты сцепления

В запчасти поставляется кожух 50-15-156СП - комплект, который можно установить на ранее выпущенные тракторы при замене кожуха 50-15-119СП.

январь 2002 г.

С целью снижения трудоемкости монтажа и повышения герметичности системы смазки трансмиссии внедрены армированные рукава вместо труб, соединяемых рукавами низкого давления с винтовыми хомутами.

январь 2002 г.

На тракторах с ЭССП и с П-23У введено унифицированное управление декомпрессором, более удобное и обеспечивающее быструю остановку двигателя при аварийной ситуации.

январь 2002 г.

Введен кронштейн 50-12-301СП блокировки КПП взамен 50-12-212СП с установкой валика 24-12-4 на смазываемых втулках 50-12-743 с защитными шайбами 700-31-2204, с целью уменьшения износа элементов узла.

Введение кронштейна блокировки

январь 2002 г.

С целью герметизации и исключения обмасливания коробки передач, сервомеханизма, корпуса бортовых фрикционов, бортового редуктора ведена обработка силиконовым клеем-герметиком Полисил или компаундом КЛТ-75Г и герметиком Анатерм 8К пробок, прокладок и привалочной плоскости коробки передач.

апрель 2002 г.

С целью исключения утечек масла из гидротрансформатора по разъему между кожухом 64-14-20 и корпусом 64-14-29 подшипников привода насоса НШ-50А-3 введено резиновое кольцо 700-40-8073.

введено резиновое кольцо 700-40-8073

март 2003 г.

С целью защиты от пыли рычагов управления коробкой передач введены резиновые пыльники 3302-5107090 (2 шт.)

сентябрь 2003 г.

С целью исключения раскрытия пружинных стопорных шайб 27 65Г 09 болтов крепления ведущего колеса к ступице бортового редуктора введены цековки 0 45 на фланце 50-19-158.

— 1 квартал 2004 г.

С целью исключения самовыключения передач диапазонов уменьшен максимальный зазор (люфт) в пакетах шестерен коробки передач за счет повышения точности изготовления.

июль 2003 г.

С целью повышения надежности уплотнения между валиками 50-12-688/689 и корпусом 50-12-157 механизма блокировки переключения передач, кожаный сальник 40251СП заменен резинокаркасной манжетой 2.2-22-40-1 ГОСТ 8572-79, с изменением размеров сопрягаемых деталей и потерей взаимозаменяемости.

сальник 40251СП заменен резинокаркасной манжетой

Новые валики и корпус имеют обозначения 50-12-778/779 и 50-12-157-01 соответственно.

июль 2003 г.

Для повышения надежности бортового редуктора введены следующие изменения:

март 2004 года.

С целью исключения случаев самоотворачивания гайки 700-30-2327 на стержне 50-17-157, стягивающем двойную шестерню, увеличены длина стержня и высота гайки. Момент затяжки гайки увеличен.

март 2004 года.

С целью исключения случаев рассухаривания уплотнений концевого подшипника бортового редуктора увеличен натяг в сопряжении палец 15-19-36 - втулка 20-19-18

март 2004 года.

Взамен подшипников 70-32315 и 70-32612К с цилиндрическими роликами в бортовых редукторах введены подшипники соответственно 70-32315К1М и 70-32612К1М с бочкообразными роликами, что увеличивает допустимый перекос осей.

июль 2004 г

С целью повышения надежности коробки передач увеличена с 9 до 14 мм высота гайки 700-30-2301 на верхнем валу, с изменением обозначения на 700-30-2301-01. Гайки взаимозаменяемы.

сентябрь 2004 г

С целью устранения перетока масла из двигателя в гидротрансформатор взамен сапуна 18-26-286СП введен сапун 64-14-160СП с увеличенным проходным сечением.

Для установки его на ранее выпущенных тракторах следует заменить крышку 64-14-44, на которую крепится сапун, и прокладку 700-40-8526 на новые соответственно 64-14-239 и 700-42-2631-03.

взамен сапуна 18-26-286СП введен сапун 64-14-160СП

февраль 2005 года.

С целью упрочнения корпуса 21-17-37-1 сервомеханизма бортовых фрикционов увеличена толщина его стенки с 5 до 8 мм.

I квартал 2005 г.

С целью устранения течи масла через уплотнения в трансмиссии взамен колец из обычной резины 700-40-4785 (прифланцовка КП и корпуса бортовых фрикционов) и 700-40-8073 (в ГТР) установлены кольца из фторсиликоновой резины ФС-608, соответственно 700-40-9573 и 700-40-9572.

II квартал 2005 года.

Для повышения надежности бортового редуктора увеличены момент затяжки гаек 700-30-2318 крепления венца 60-19-2 к ступице 50-19-145СП (48-19-146СП - на болотоходных тракторах) с 300...350 Нм до 400...450 Нм и толщина стопорных пластин 700-31-2262 с 1,5 до 2 мм.

апрель 2006 г.

Для повышения прочности увеличена толщина фланца крышки 60-19-9 концевого подшипника бортового редуктора с 18 до 41 мм, при этом болты 28579 заменены болтами 700-28-2723.

В запчасти поставляется комплект 64-19-129СП: крышка 60-19-9 с болтами 700-28-2723.

июнь 2006 г.

Для устранения случаев падения давления в системе смазки планетарной коробки передач из-за выпадания седла 64-12-39 клапана смазки 64-12-112СП, ужесточена его посадка за счет изменения размера посадочного отверстия в корпусе.

II квартал 2006 г.

Для удобства обслуживания и исключения попадания масла на землю при его замене, пробки 700-37-2154 сливных отверстий корпусов редукторов лебедки трубоукладчика заменены кранами, для установки которых введены переходники 700-41-4030.

В ЗИП прикладывается патрубок 700-41-4031, который устанавливается при сливе масла взамен пробки 700-37-2330, закрывающей резьбовое отверстие крана.

пробки заменены кранами

июль 2006 г.

Для улучшения тяговых характеристик тракторов с гидромеханической трансмиссией увеличено передаточное число до 1,25 (было - 1,0952) согласующего редуктора коробки передач: взамен зубчатых колес 64-12-95 и 64-1296 установлены новые, соответственно 64-12-105 и 64-12-106. Новая пара зубчатых колес взаимозаменяема с ранее устанавливаемой парой колес.

III квартал 2006 г.

На тракторах с гидромеханической трансмиссией взамен корпуса 64-12-305 блока клапанов установлен корпус 64-12-409, с полностью механически обработанными каналами.

установлен корпус 64-12-409

В новый корпус устанавливаются две пробки 700-37-2289-01 с кольцами 018-022-25-2-5.

Корпусы 64-12-409 в сборе с пробками и 64-12-305 взаимозаменяемы.

май 2007 г.

Для повышения прочности увеличена на 5,5 мм толщина крышки 50-19-146 корпуса подшипника ведущего фланца бортового редуктора.

увеличена толщина крышки 50-19-146

При этом болты М12х45.58.019 (6 шт.) замены болтами M12-6gx50.58.019 большей длины, шайбы 12 ОТ 65Г 09 (6 шт.) аннулированы. Обозначение крышки сохранено.

июль 2007 г.

На тракторах с гидромеханической трансмиссией взамен корпуса 64-12-303 маслораспределительной плиты коробки передач установлен корпус 64-12-407, с полностью механически обработанными каналами.

установлен корпус 64-12-407

В связи с установкой нового корпуса, а также с целью унификации с пробками, применяемыми в узлах трансмиссии трактора, взамен пробок 700-37-2130 установлены пробки 700-37-2289-01.

Корпусы 64-12-407 и 64-12-303 взаимозаменяемы.

август 2007 г.

С целью улучшения характеристик трактора с двигателем Д180М устанавливаются гидротрансформаторы (ГТР) с коэффициентом трансформации Ко=2,53:

  • 64-14-1-02СП - на трактор с пусковым двигателем (ПУ);
  • 64-14-1-03СП - на трактор с электростартерной системой пуска (ЭССП), взамен ГТР 64-14-1 СП и 64-14-1-01 СП (соответственно с ПУ и ЭССП) с коэффициентом трансформации Ко=2,2.

Улучшение характеристик достигнуто за счет изменения геометрии лопаток колес. Введены новые обозначения колес:

  • колесо насосное 64-14-105-01СП (64-14-352) взамен 64-14-105СП (64-14-2);
  • колесо турбинное 64-14-107-01СП (64-14-351) взамен 64-14-107СП (62-14-1);
  • колесо реактора 64-14-353 взамен 64-14-3.

сентябрь 2007 г.

В приводе механизма управления поворотом и тормозами для регулировки длины тяг без разъединения их с рычагами введены:

  • стяжки 50-13-266 с правой и левой резьбой;
  • тяги 50-13-207СП и гайки 700-30-2406 с левой резьбой;
  • тяги 64-13-179СП, 64-13-189СП/189-01СП и гайки М12х1.25-7Н.6.019 с правой резьбой.

Аннулированы тяги 64-13-167СП, 64-13-144СП, 64-13-145СП.

введены стяжки и тяги

IV квартал 2007 г.

В планетарной коробке передач сателлитные шестерни устанавливаются на подшипники K35x43x35ZW (NNR) с металлическим сепаратором взамен игольчатых подшипников 464607Е с пластмассовым сепаратором.

октябрь 2007 г.

В блок клапанов 64-12-203СП введена пружина 700-38-2976, изготавливаемая из термообработанной проволоки, взамен ранее устанавливаемой пружины 700-38-2802.

январь 2008 г.

Механическая трансмиссия. Для обеспечения включения диапазонов переднего хода и включения заднего хода увеличен с 142 до 147 мм диаметр муфты 18-12-323 коробки передач.

I квартал 2008 г.

Для улучшения качества масла, поступающего в гидросистему питания, управления и смазки ГМТ тракторов Т10М с двигателем ЯМЗ, установлен фильтр FMM0503BADM60NP03 с перепускным клапаном и визуальным индикатором V7 засоренности взамен ранее устанавливаемого фильтра ФГ85 00 3.

установлен фильтр FMM0503BADM60NP03

В ЗИП трактора прикладывается сменный фильтрующий элемент.

I квартал 2008 г.

С целью исключения разряжения во внутренней полости гидротрансформатора (ГТР) взамен сапуна 64-14-160СП введена воздушная трасса, соединяющая ГТР с полостью ПКП. 

введена воздушная трасса

Установка трассы повлекла за собой следующие изменения:

а) аннулированы:

  • прокладка 700-42-2631-03;
  • крышка 64-14-239;

б) введены:

  • рукав 700-40-3487;
  • болт полый 700-41-3306;
  • кольца 22x30 МН 4152-62 (2 шт.);
  • крышка 64-14-341;
  • трубка 64-14-179СП;
  • хомуты 700-41-2228СП (2 шт.);
  • гайки 700-30-2099 (2 шт.) с шайбами 10 ОТ 65Г 09 (2 шт.);
  • прокладка 700-40-7594;
  • труба 64-60-264СП;
  • шпильки 700-29-2474 (2 шт.).

в) взамен корпуса 64-12-90 установлен корпус 64-12-90-02.

II квартал 2008 г.

Для снижения усилия на рукоятке рычага управления поворотом и повышения надежности привода сервомеханизма 64-17-2СП управления бортовыми фрикционами введена установка валиков 64-17-44 на игольчатых подшипниках 941/25 и 942/25 вместо железографитовых втулок 64-17-19 (4 шт.).

введена установка валиков

При этом введены две втулки 64-17-61, а в корпусе 64-12-42 выполнена расточка под эти втулки.

III квартал 2008 г.

С целью повышения надежности работы сервомеханизма 64-17-2СП управления бортовыми фрикционами установлены двухопорные толкатели 64-17-111СП золотников взамен осей 64-17-5.

установлены двухопорные толкатели

III квартал 2008 г.

С целью повышения надежности крепления опоры 64-14-334 (рис. а) к корпусу насосного колеса ГТР 64-14-16СП (на тракторах Т10М с двигателем ЯМЗ), фланца 64-14-177СП к маховику двигателя (рис. б), крышки к турбинному валу и (рис. в) введены:

  • болты 700-28-2729 с мелкой резьбой и увеличенной головкой взамен болтов 700-28-2336;
  • пружинные шайбы 12 ОТ 65Г 09 взамен стопорных пластин 700-31-2827, 700-31-2330 и пружинные шайбы 10 ОТ 65Г 09 взамен стопорных пластин 700-31-2815, 700-31-2815-01.
  • крышка 64-12-358 взамен крышки 64-12-42.

введены запчасти для надёжности

август 2008 г.

Для снижения времени ремонта планетарных коробок передач в запасные части поставляются комплекты:

  • 64-12-137СП - корпус тормоза переднего хода;
  • 64-12-138СП - корпус тормоза I передачи;
  • 64-12-139СП - корпус тормоза I передачи;
  • 64-12-140СП - корпус тормоза II передачи;
  • 64-12-141СП - корпус тормоза II передачи;
  • 64-12-142СП - корпус тормоза III передачи;
  • 64-12-143СП - корпус тормоза III передачи;
  • 64-12-144СП - корпус тормоза заднего хода;
  • 64-12-145СП - корпус тормоза заднего хода.

Ранее поставлялись отдельные детали.

I квартал 2009 г.

Корпуса тормозов 64-12-8 и 64-12-113 планетарных коробок передач соответственно тракторов Т10М и Т12 унифицировали на базе корпуса 64-12-8, внеся в него следующие изменения:

  • добавили три отверстия диаметром 14,5 мм (их стало 18), два отверстия диаметром 13 мм (стало 4) и один паз (стало 2);
  • стяжки 64-12-120СП (или 84-12-36), шайбы 12 ОТ 65Г 09 (по 3 шт.) и корпус 64-12-113 аннулировали.

корпуса тормозов унифицировали


I квартал 2009 г.

С целью повышения надежности бортового редуктора трактора Т12 взамен корпуса 64-19-46 введен усиленный корпус 64-19-115 с увеличенной толщиной стенок, что повлекло за собой следующие изменения сопрягаемых деталей и сборочных единиц:

а) заменены:

  • ступица 64-19-110СП на 64-19-131СП;
  • крышка 64-19-60 на 64-19-113;
  • втулка 64-19-52 на 64-19-111;
  • втулка 64-19-53 на 64-19-112;
  • болты M12-6gx50.58.019 на M12-6gx70.58.019;
  • торцевое уплотнение 64-19-108СП на 54010415ZS;

б) введены болты M12-6gx35.58.019.

введен усиленный корпус 64-19-115

I квартал 2009 г

Для обеспечения высокой надежности и качества узлов гидромеханической трансмиссии внедрены манжеты DIN 3761 BAUMSLX7 100-125-12 Артикул 521012 производства Freudeuberg-Simrit & Со.KG взамен манжет 2.1-100x125-4 ГОСТ 8752-79. Взаимозаменяемость не нарушена.

сентябрь 2009 г.

Для обеспечения высокой надежности и качества гидротрансформаторов внедрен насос НМШ 25Б ТУ У 3.25-05786100-025-96 производства г. Кировоград (Украина) взамен снятого с производства насоса 50-60-231СП. Взаимозаменяемость не нарушена.

ноябрь 2009 г.

Для снижения стоимости ремонта планетарной КП введен в запчасти комплект 64-12-146СП, ранее колеса зубчатые 64-12-79 и 64-16-1 конического зацепления поставлялись в запчасти в составе комплекта планетарной КП. Взаимозаменяемость не нарушена.

ноябрь 2009 г.

С целью унификации бортового редуктора, серийного и болотного трактора, убраны детали: смотровая пробка 15224 в крышке 64-19-41, штифт 5х8х14 в муфте 64-19-55. Взаимозаменяемость сохранена комплектно.

убраны некоторые детали

I квартал 2010г.

Для обеспечения высокой надежности и качества планетарных КП внедрены, как допустимая замена, импортные подшипники NJ 212 EH, 6213H производства KML вместо подшипников 700-39-2297 (422212КМ), 700-38-2302 (213). Взаимозаменяемость не нарушена.

май 2010 г.

Для обеспечения улучшения герметичности узлов трансмиссии: планетарной коробки передач, гидротрансформатора, бортовых редукторов, главной передачи, и предотвращения коррозии валов, в рабочие полости уплотняющих кромок манжет Simrit DIN 3761 BAUMSLX1 100-125-12 введена консистентная смазка Литол-24.

IV квартал 2012 года.

На тракторах с двигателем ЯМЗ для удобства обслуживания тракторов в эксплуатации в системе питания управления и смазки гидромеханической трансмиссии визуальный индикатор V7 засоренности фильтра FMM 050 заменен на электрический индикатор NR7HP01.

индикатор V7 заменен на NR7HP01

При этом сигнализатор засоренности установлен на приборной панели ПП-08.

IV кв. 2012 г.

Для обеспечения повышенной герметичности в бортовых передачах 50-19-141СБ и 50-19-142СБ тракторов Т10, Т11 в большом торцевом уплотнении 24-19-114СБ введены дополнительные притертые две конусные поверхности.

август 2012 года.

Для исключения коррозии в деталях трансмиссии заднего моста тракторов Т10, Т11, Т12, Т14 введены защитные покрытия:

  • Хим.окс.прп.в деталях 24-16-1, 24-16-4, 28-16-3-1, 28-16-4-1, 28-16-14;
  • Ц9.хр. в деталях 28-16-13;
  • Покрытие лакокрасочное необработанных наружных поверхностей в деталях 28-16-15, 50-16-20.

II квартал 2013 года.

Для обеспечения стабильных геометрических размеров при длительной эксплуатации тракторов с гидромеханической трансмиссией уплотнительные кольца в бустерах планетарной коробки передач заменены на уплотнительные кольца производства ЗАО «Фторопластовые технологии» г. Санкт-Петербург.

Было:

  • 64-12-53;
  • 64-12-54

Стало:

  • 700-42-3196;
  • 700-42-3196-01

II квартал 2013 года.

Устранены в торсионной муфте дефекты:

  • течь через манжету 1,2-200x240-1 ГОСТ 8752-79;
  • переборка узла (муфты) при обкатке.

Внедрены унифицированные манжеты DIN 3761 BAUMSLX7 100x125-12 (Артикул 521012), упрощена конструкция узла и снижены затраты изготовления муфты в производстве.

внедрены унифицированные манжеты

2013 г.

На тракторах Т10М в сервомеханизмах механизмов управления муфтой сцепления 50-15-5СП и 48-15-1СП вместо 2-х колец 700-40-7374 устанавливается одно уплотнение KRD35.27.5.3.2 , которое улучшает герметичность соединения валик сервомеханизма - кожух муфты сцепления.

вместо колец устанавливается одно уплотнение

IV кв. 2013 г.

Для улучшения сборки вместо тяг управления муфтой сцепления на тракторах Т11 и Т14 установлены гибкие тяги (тросы), которые не требуют сложной регулировки при установке на трактор.

Установка гибких тяг управления муфтой сцепления

II кв. 2016 г.

Изменения в ходовой системе Т10

Для повышения жесткости рамы гусеничной тележки в районе концевого подшипника введена накладка 50-12-410.

введена накладка 50-12-410

апрель 2003 г.

С целью увеличения производительности бульдозерного агрегата введена жесткая балансирная балка 20-20-125СП с микроподрессориванием взамен рессоры 20-20-112СП.

Введение жесткой балансирной балки

март 2002 г.

С целью уменьшения забиваемости тележек грунтом взамен двухопорного поддерживающего катка 50-21-169СП с кронштейном 50-21-210 введен консольный поддерживающий каток 50-21-416СП, без сохранения взаимозаменяемости.

Введение консольного поддерживающего катка

март 2002 г.

Введена цельнолитая опора 50-21-423СП/424СП натяжного колеса вместо сборки, состоящей из опоры 50-21-342СП/243СП и упора 50-21-266, соединенных болтами 700-28-2587.

Введение цельнолитоц опоры

Для ранее выпущенных тракторов в запасные части цельнолитая опора поставляется в комплекте 50-21-432СП.

март 2002 г.

Введен подшипник 954712К8 в опорные катки 24-21-169СП/170СП с удлиненной наружной обоймой вместо подшипника 954712КЧ и дистанционного кольца 700-58-2610.

Введение подшипника в опорные катки

май 2002 г.

Введен подшипник 272614КМУ (или 2614К2) в натяжные колеса 50-21-305СП/306СП с удлиненной наружной обоймой вместо подшипника 2614КМУ и дистанционного кольца 700-58-2500.

сентябрь 2002 г.

С целью повышения надежности и работоспособности механизма натяжения гусеницы изменена его конструкция.

Изменение конструкции механизма натяжения

При этом:

  • заменены:
    • поршень 50-21-14 на 50-21-419;
    • шток 24-21-92 на 50-21-404 (новом механизме уменьшен диаметр штока);

  • введены вновь:
    • втулка 50-21-402;
    • кольцо 700-40-9035.

Новое обозначение механизма натяжения - 50-21-420СП взамен 50-21-134СП.

Указанные механизмы натяжения взаимозаменяемы.

сентябрь 2002 г.

Взамен цельнолитого ведущего колеса 50-19-160-1 введено сборное 50-19-182СП со сменными коваными сегментами 50-19-201 (9 шт.), в установке которых применены:

  • гайки 700-30-2318 (27 шт.);
  • болты М20х1,5x62 ГОСТ 11674-75 (27 шт.);
  • шайбы 20 ОТ6509 ГОСТ 6402-70 (27 шт.).

введено сборное 50-19-182СП


Колеса взаимозаменяемы.

март 2003 г.

С целью повышения ресурса введена новая гусеница 50-22-28СП с сухим закрытым шарниром, уплотненным стальными кольцами 50-22-33, с изменением размеров и обозначения втулки 50-22-3 на 50-22-34 (устанавливается по заказу потребителя).

введена новая гусеница 50-22-28СП

Гусеница взаимозаменяема с существующими серийными гусеницами.

сентябрь 2003 г.

С целью улучшения работы подшипников в опорные катки 24-21-169СП/170СП и натяжные колеса 50-21-305СП/306СП введена смазка «ЦИАТИМ-208» взамен трансмиссионного масла ТЭП-15.

сентябрь 2003 г.

По желанию заказчика на тракторы устанавливаются однобортные и двубортные опорные катки соответственно Кат-21-169СП-Б, Кат-21-170СП-Б на подшипниках скольжения с улучшенным уплотнением типа DUO-CONE. Указанные катки в сборе взаимозаменяемы с серийными.

устанавливаются опорные катки Кат-21-169СП-Б, Кат-21-170СП-Б

январь 2004 г

Для повышения прочности рамы тележки увеличена с 5 до 8 мм толщина навариваемой в районе балансирной балки накладки.

май 2004 г

Увеличена на 8 мм длина распорок 50-64-104СП для получения гарантированного зазора между защитой ходовой системы (устанавливаемой по требованию заказчика) и гусеницей с целью устранения возможного их взаимного задевания.

сентябрь 2004 г

Для более надежного крепления съемных зубчатых сегментов ведущего колеса вместо гайки 700-30-2318 (27 шт.) введена гайка 30326-1, большая по высоте и твердости, из стали 45Х (вместо 20Г2Р). Шайба 20 ОТ 65Г09 ГОСТ 6402-70 (27 шт.) аннулирована.

вместо гайки 700-30-2318 (27 шт.) введена гайка 30326-1

октябрь 2004 г

С целью снижения износа направляющих элементов рам тележек в установке натяжных колес исключены четыре пружины 700-38-443

исключены пружины 700-38-443

1 квартал 2007 г.

С целью устранения течи масла из опорных катков и натяжных колес усилена пружина 700-38-2568 за счет увеличения длины с 50 до 55 мм.

май 2007 г.

2.3. Введена 100-процентная установка гусениц со смазываемыми шарнирами:

  • для тракторов с пятикатковыми тележками - гусеницы ГМ-1-1СП;
  • для тракторов с шестикатковыми тележками - гусеницы ГМ-1-1-01СП;
  • для тракторов с семикатковыми тележками - гусеницы ГМ-1-1-02СП (с башмаками длиной 690 мм) и ГМ-1-1-03СП (с башмаками длиной 900 мм);

май 2007 г.

С целью повышения надежности уплотнения детали из обычной резины в катках и натяжных колесах заменены деталями из резины «Silastic»:

а) в опорных катках 24-21-169СП/170СП:

  • прокладка 700-40-5377 (2 шт.) на Кат 40-5377 (2 шт.);
  • манжета 700-40-5378 (2 шт.) на Кат 40-5378 (2 шт.);
  • кольцо 110-120-58-2-2 (2 шт.) на Кат 21-60-03 (2 шт.) ГОСТ 9833-73;

б) в поддерживающем катке 50-21-425СП:

  • прокладка 700-40-5019 (1 шт.) на Кат 40-5019 (1 шт.);
  • манжета 700-40-5432 (1 шт.) на Кат 40-5432 (1 шт.);
  • кольцо 110-120-58-2-2 (2 шт.) на Кат 21-60-03 (2 шт.) ГОСТ 9833-73;

в) в натяжных колесах 50-21-305СП/306СП:

  • прокладка 700-40-5019 (2 шт.) на Кат 40-5019 (2 шт.);
  • манжета 700-40-5432 (2 шт.) на Кат 40-5432 (2 шт.);
  • кольцо 700-40-3116 (2 шт.) на Кат 21-60-05 (2 шт.) ГОСТ 9833-73. Взаимозаменяемость одноименных деталей сохранена.

январь 2005 года.

С целью уменьшения забиваемости ходовой системы мокрым снегом и грязью по требованию потребителя на трубоукладчик могут быть установлены гусеницы 66-22-1-03СП с центральным отверстием ø 100 мм в башмаках взамен гусениц 66-22-8СП. Взаимозаменяемость гусениц не нарушена.

март 2005 года.

С целью защиты рынка продукции введена маркировка заводского номера и даты изготовления рам тележек на верхней полке лонжерона перед передним кронштейном под поддерживающий каток.

май 2005 года.

По требованию потребителя на тракторы может быть установлена модернизированная гусеница ГМ-1СП с шарниром с одноразовой смазкой на весь срок эксплуатации.

февраль 2006 г.

С целью уменьшения забиваемости ходовой системы мокрым снегом, грязью и исключения «распора» гусеницы, на всех трубоукладчиках взамен гусениц 66-22-8СП устанавливаются гусеницы 66-22-1-03СП с башмаками 66-221-03 с центральным отверстием диаметром 100 мм.

апрель 2006 г.

Для улучшения смазки подшипников поддерживающих катков 50-21-416СП увеличены диаметры отверстий с 6 до 10 мм в осях 50-21-396.

увеличены диаметры отверстий

август 2008 г.

Введена смазка полуосей тележек для тракторов Т10М2, Т11, Т12, Т14 с установлением масленок в кронштейнах рам тележек, и обеспечение герметизации установкой манжет фирмы «Simrit» .

введена смазка полуосей тележек

II квартал 2010 г.

С целью улучшения доступа в кабину трактора введена подножка на тележки тракторов.

введена подножка на тележки

II квартал 2011 г.

Для исключения передачи нагрузок с ходовых тележек на бортовые редукторы трактор Т10М изготовлен с вынесенной осью прокачки ходовых тележек. При этом для установки бортового редуктора в корпус бортовых фрикционов установлены укороченные полуоси 64-19-138 без мест под установку концевого подшипника и подшипника раскоса тележки.

установлены укороченные полуоси

2014 г.

Изменения в кабине Т10

С целью повышения герметичности кабины:

  • все технологические отверстия закрыты резиновыми пробками 700-40-9032;
  • устранены щели в сопряжении крыши и стоек каркаса планками 50-59-1006/1007, приваренными к стойкам.

январь 2002 г.

Введен аварийный люк на крыше кабины.

январь 2002 г.

С целью улучшения внешнего вида в местах установки фар введены декоративные накладки 700-42-2772 (2 шт.) на кабине и кожухи 700-42-2773 (2 шт.) на лобовине капота, для закрепления которых применены самонарезающие, самосверлящие винты 700-35-2191.

июнь 2002 г.

С целью улучшения интерьера кабины на лобовом стекле введена новая солнцезащитная шторка 50-59-784СП взамен 50-59-396СП.

июль 2002 г.

С целью повышения жесткости и прочности крыши кабины введен замкнутый контур ребер крыши.

июль 2002 г.

Для удобства эксплуатации введена кабина 50-59-24-14СП с разделенными лобовым и задним стеклами взамен кабины 50-59-24СП.

декабрь 2002 г.

Введена измененная конструкция капота:

В связи с изменением конструкции гидробака введены:

  • передние съемные створки 64-55-520-04/05 капота, улучшающие доступ к дизелю;
  • съемная рама 64-55-209-02СП капота, установленная на лонжероны рамы трактора.

измененная конструкция капота

Створки 64-55-520-04/05 крепятся к порталу и съемной раме, к последней крепится также передняя и задняя крыши капота.

март 2003 г.

С целью уменьшения вибрации введена новая конструкция задних опор 50-55-388-01СП/389-01СП, установленных на лонжероны рамы трактора (без связи с двигателем, в отличии от опоры 50-55-459 на Т10).

К опорам крепится задняя крыша капота.

март 2003 г.

Введена новая конструкция решетки радиатора, состоящая из двух сварных частей -решеток 50-55-280СП и 64-55-578-01.

новая конструкция решетки радиатора

март 2003 г.

С целью повышения качества фиксации дверей кабины в открытом положении в защелке 50-59-440СП двуместный амортизатор 591044 заменен двумя одноместными короткими 700-40-9085.

амортизатор 591044 заменен на 700-40-9085

Амортизаторы взаимозаменяемы.

июль 2003 г.

С целью улучшения внешнего вида внутри кабины в местах скругления передних и задних стекол установлены пластмассовые пластины 700-42-2919 (4 шт.), закрепленные само-нарезающими винтами 700-35-2101 (4 шт.).

ноябрь 2003 г.

С целью улучшения условий труда оператора применено сиденье «Pilot» (по лицензии фирмы «Grammer», Германия).

4 квартал 2003 г.

С целью повышения надежности, улучшения герметичности и внешнего вида кабина 50-59-24СП заменена кабиной 550-59-77СП, усовершенствованной вводом более жестких дверей, оборудованных дополнительным замком роторного типа; цельных боковин, вентиляционно-аварийным люком. Взаимозаменяемость кабин сохранена.

1 квартал 2004 г.

С целью защиты топливного бака от вандализма к нему приварен фиксатор 50-25-220, к крышке заливной горловины - две скобы (крышка 50-25-127СП заменена крышкой 50-25-247СП), что позволяет закрывать топливный бак на замок.

приварен фиксатор 50-25-220

1 квартал 2004 г.

С целью защиты компрессора кондиционера от вандализма при транспортировании трактора на переднюю левую крышку капота с помощью болта 28475 крепится пломба 1016.7 ТУ205 РСФСР 11.631-84.

с помощью болта 28475 крепится пломба

август 2004 года.

Для установки огнетушителя введен кронштейн 64-59-210СП, который крепится самонарезающими самосверлящими винтами 700-35-2191 на средней стойке внутри кабины с правой стороны.

ноябрь 2004 г

6.2. С целью внутризаводской унификации бонки 700-51-2277 (4 шт.) крепления масляного отопителя заменены бонками 4368-0816. Бонки взаимозаменяемы.

ноябрь 2004 г

Усовершенствована кабина:

  • с целью унификации передней стенки кабины на все модификации кабин введено по два отверстия под установку масляного отопителя, в которые впрессовано по втулке 50-59-1575, отверстия которых закрыты пробками 700-37-369;
  • уменьшено количество модификаций каркасов кабин за счет унификации передней стенки для трактора с пусковым двигателем и ЭССП;
  • введены крышки 50-59-548-01СП на модификации кабин с разделенными стеклами для тракторов с электростартерным пуском.

Усовершенствована кабина

декабрь 2004 г

По заказу на тракторах с механической трансмиссией и пусковым двигателем возможна установка дополнительного масляного отопителя калориферного типа 50-47-25СП, обеспечивающего поддержание нормальной температуры в кабине (не ниже +14 °С) при температуре наружного воздуха - 40 °С.

декабрь 2004 г

По заказу на тракторах с гидромеханической трансмиссией может быть установлен дополнительно автономный воздушный отопитель «AIR-TRONIC» (фирма «Eberspaher» Германия), предназначенный для обогрева кабины.

может быть установлен воздушный отопитель AIR-TRONIC

Предусмотрена возможность дистанционного управления и работа в режиме вентиляции.

декабрь 2004 г

По заказу кабина может быть оснащена стеклопакетами (передние и задние стекла).

Применение стеклопакетов обеспечивает:

  • улучшение термоизоляции;
  • снижение уровня шума в кабине;
  • предохранение стекол от запотевания.

4 квартал 2004 г

С целью защиты рынка продукции введена пломба Фликлок окрашенный (ТУ 4180-007-13802451-05) кабины.

Место установки пломбы: внутри стойки в месте крепления верхнего шарнира левой двери кабины.

введена пломба Фликлок

март 2005 года

Увеличена жесткость ручки 50-59-1669 двери кабины (изменена форма поперечного сечения) с сохранением обозначения и взаимозаменяемости.

I квартал 2005 года.

С целью упрочнения рычага 50-59-820СП аварийного люка увеличена с 2 до 3 мм толщина упора рычага, с сохранением обозначения и взаимозаменяемости.

I квартал 2005 года.

С целью повышения надежности запирающего устройства дверей кабины взамен замков 2108-6105014/15 установлены соответственно ригели 64-59-277/277-01 и скоба 64-59-280, при этом двери 50-59-822СП/822-01СП заменены соответственно на двери 64-59-248/248-01СП. Взаимозаменяемость дверей сохранена.

взамен замков установлены ригели

май 2005 года

В порядке конструктивной доработки кабины защелки фиксаторов дверей в открытом положении перенесены вверх на 200 мм, установлены проставки 64-59-288 и болты М10-6g×25.58.Ц9.ч заменены болтами М10-6g×35.58.019.

установлены проставки 64-59-288

сентябрь 2005 год

Для защиты уплотнения дверей кабины от износа, взамен планок 5059-1158 устанавливаются порожки 64-59-272.

взамен планок устанавливаются порожки

Планка и порожек - взаимозаменяемы.

май 2006 г.

С целью защиты кабины от вандализма при перевозках и хранении трактора введена блокировка аварийно-вентиляционного люка: установлена планка 64-59-287, крепящаяся с помощью болта М10-6g×80.58.019 к крышке люка.

установлена планка 64-59-287

Для того чтобы разблокировать люк, необходимо снять планку. Вместо болта завернуть упор 50-59-1488 с надетой на него накладкой 700-40-5228, которые прилагаются в ЗИП.

май 2006 г.

С целью унификации боковые щитки 64-24-21 платформы кабины заменены щитками 64-63-7 (как на тракторах с ROPS-FOPS).

сентябрь 2006 г.

С целью защиты кабины от вандализма при транспортировании трактора, введено пломбирование дверей. Свинцовая пломба крепится с помощью проволоки к поручню кабины и вновь введенным планкам 64-59-316.

введено пломбирование дверей

Планки крепятся болтами к дверям кабины и крышке отсека аккумуляторных батарей (на тракторах с ГМТ).

IV 2006 г.

Для улучшения системы доступа и обслуживания на задней крыше капота установлены два дополнительных поручня 50-24-607.

установлены два дополнительных поручня

IV 2006 г.

На тракторах с гидромеханической трансмиссией для улучшения эксплуатационных качеств - фиксации в открытом положении крышки отсека аккумуляторных батарей- изменено ее крепление.

Заменены детали:

  • болты M6-6gx60.88.35.019 (2 шт.) болтами M8-6gx70.58.019;
  • гайки М6-7Н.6.Ц9.Ч (2 шт.) гайками М8-7Н.6.Ц9.ч;
  • шайбы 700-31-2606 (2 шт.) шайбами 31386-03.

июль 2007 г.

По требованию потребителя на кабине трактора могут быть установлены наружные зеркала заднего вида 39.82.01.020.

установлены зеркала 39.82.01.020

Зеркала на кронштейнах крепятся на передних поручнях кабины зажимами, болтами, гайками и шайбами.

В запчасти зеркала поставляются в комплекте 64-59-241СП, содержащем в себе детали крепления.

август 2007 г.

С целью исключения возможности уменьшения хода сиденья взамен болта М8-6gx25.88.35.019 установлен болт M8-6gx16.88.35.019 меньшей длины.

установлен болт M8-6gx16.88.35.019

При этом шайба 31386 заменена шайбой 31437.

IV квартал 2007 г.

Для улучшения запирания дверей кабины трактора изменена конструкция ригелей 64-59-277/277-01.

изменена конструкция ригелей

Обозначение ригелей сохранено.

октябрь 2008 г.

Введена ручка 80-6105300-А1 с встроенным замком левой двери кабины взамен ручки 50-59-1669.

введена ручка 80-6105300-А1

Это повлекло за собой изменение конструкции запирающего устройства, введены: планка 64-59-274СП, винт специальный с буртом резьбовыдавливающий Е39410П26, прокладка 64-59-315.

введены планка, винт, прокладка

В связи с этим изменена конструкция дверей. Взамен ранее устанавливаемых дверей 64-59-248СП/248-01СП установлены новые двери 64-59-267СП/267-01СП. На правой двери установлен поручень 3302-8202200.

Для тракторов выпуска 2004 - 2005 гг. для замены дверей в запасные части поставляется комплект 64-622СП, включающий выше указанные детали, сборочные единицы и инструкцию 64-622И по их установке. Использование комплекта на тракторах более раннего выпуска невозможно из-за отличий в конструкции каркаса кабины.

I квартал 2008 г.

Для улучшения обогрева кабины возможна установка по требованию заказчика отопителя-вентилятора «Зенит 8000».

установка отопителя-вентилятора Зенит 8000

Улучшение обогрева происходит за счет большей по сравнению с отопителем «Ксерос 4000» мощности, а также более рационального подвода тепла (снизу вверх).

Размещение отопителя-вентилятора под сиденьем водителя позволяет устанавливать на крышу кабины кондиционер.

август 2008 г.

С целью унификации деталей кабин тракторов Т10М и трубоукладчиков ТР12, ТР20 введены замены:

  • накладки 50-59-1465-01, 50-59-1465-02 и 50-59-1465-03 на накладки 50-59-1465;
  • щитки 50-59-951-01 и 50-59-951-02 на щитки 50-59-951.

май 2009 г.

Для улучшения удобства работы оператора на тракторах типа Т10М с гидромеханической и механической трансмиссий внедрена новая конструкция сиденья с пневмоподрессориванием.

Для удобства посадки и выхода с рабочего места оператора автоматически производится пневматическая регулировка по весу с применением кнопки сброса воздуха. В конструкции сиденья также предусмотрена регулировка величины хода подвески.

Эргономические показатели сиденья в комплексе с пневмоподрессориванием, снижают до 40% вредных колебаний и обеспечивают комфортные условия работы в течение длительного времени.

I квартал 2013 года.

Для кабин тракторов с гидромеханической трансмиссией произведена замена подлокотников сиденья на более удобные, что обеспечивает более комфортную работу оператора.

I квартал 2013 года.

С целью унификации кабин тракторов типа Т10М с гидромеханической и механический трансмиссий разработана и внедрена в производство кабина в двух исполнениях для каждого вида трансмиссии:

  • а) для трактора оборудованного пусковым двигателем (П23У) дизеля;
  • б) для трактора оборудованного электростартерным пуском (ЭССП) дизеля.

Обе кабины полностью соответствуют ГОСТ 12.2.120.-05 (Кабины и рабочие места операторов тракторов и самоходных сельскохозяйственных машин).

По требованию потребителя кабины могут быть остеклены следующими опциями:

  • а) стеклопакетами;
  • б) прозрачными одинарными закаленными стеклами (сталинит);
  • в) тонированными одинарными закаленными стеклами (сталинит).

Конструкция кабины предусматривает легкосъемные задние поручни, позволяющие использовать кабину в комплектации трактора вместе с защитным устройством оператора ROPS-FOPS.

По требованию потребителя кабины могут быть оснащены защитными металлическими решетками, как со всех четырех сторон, так и раздельно - передних и задних стекол.

По требованию потребителя, кабины могут быть оборудованы дополнительным автономным отопителем.

Номера кабин для тракторов с гидромеханической трансмиссией:

  • 64-59-64СП для тракторов Т10М с П23У;
  • 64-59-64-01СП для тракторов с ЭССП.

Номера кабин для тракторов с механической трансмиссией:

  • 64-59-66СП для тракторов Т10М с П23У;
  • 64-59-66-01СП для тракторов с ЭССП.

IV квартал 2012 года.

С целью улучшения условий труда в кабине тракторов типа Т10М с механической или гидромеханической трансмиссией внедрено мероприятие - установка стеклоомывателей.

Для кабин тракторов с механической трансмиссией предусмотрен обмыв передних стекол. Бачок для воды емкостью 1,2 литра расположен в подкапотном пространстве с правой стороны походу трактора.

Для кабин тракторов с гидромеханической трансмиссией предусмотрен обмыв передних и задних стекол. Бачок для обмыва задних стекол располагается в аккумуляторном отсеке кабины с правой стороны.

Кнопка включение стеклоомывателей, с соответствующим символом, находится на щитке управления над окном с правой стороны.

Номер установки стеклоомывателей для тракторов с механической трансмиссией - 64-70-5СП.

Номер установки стеклоомывателей для тракторов с гидромеханической трансмиссией - 64-70-5-01СП.

I квартал 2013 года.

В конструкцию тракторов типа Б11, Б14 введены детали и узлы нового внешнего строения, изготовленные из современных композитных материалов. Благодаря чему:

  • улучшился внешний вид тракторов;
  • изделия из современных композиционных материалов имеют повышенную прочность и износостойкость, по сравнению с применяемыми ранее изделиями.

Крыша капота

Створка капота

Панель бака

II кв. 2016 г.

В конструкции модуля рабочего места на тракторах типа Б11 применены подлокотники из стандартного комплекта поставки сиденья взамен отдельно поставляемых изделий. Это привело к унификации и удешевлению конструкции.

Подлокотники

III кв. 2015 г.

Изменения в приборах и электрооборудовании Т10

С целью повышения технического уровня и улучшения условий труда отопитель-вентилятор 50-47-140СП кабины заменен на «XEROS-4000» (Германия).

февраль 2002 г.

С целью улучшения внешнего вида фонарь освещения номерного знака перенесен с топливного бака на кабину.

март 2002 г.

Фары из-под лобовины капота перенесены на трубу портала, введена защита фар 64-55-245СП капота.

март 2003 г.

С целью улучшения доступа розетка внешнего запуска ПС 315 и выключатель массы 1402-3737-0 перенесены в отсек аккумуляторных батарей.

Введено новое, более надежное крепление аккумуляторных батарей с помощью шпилек.

июнь 2003 г.

С целью повышения безопасности и во исполнение требований Госгортехнадзора РФ введено устройство подачи прерывистого звукового сигнала при движении трактора задним ходом.

1 квартал 2004 г.

Введен датчик аварийного давления масла ММ111-В перед турбокомпрессором с целью недопущения работы турбокомпрессора при предельно низком давлении масла.

ноябрь 2003 г.

Для более надежного контроля давления в гидросистеме датчик аварийного давления ММ126-Д заменен ММ 128-3810.600 ТУ 311-00-22-5621.151-93. Датчики взаимозаменяемы.

август 2004 г

На тракторах со стартерным запуском введены две новые блокировки:

  • блокировка включения стартера при работающем двигателе, что исключает случайное включение и поломку стартера;
  • блокировка массирования обмотки возбуждения генератора от ЭФУ при работающем двигателе, что исключает короткое замыкание при случайном нажатии на кнопку включения ЭФУ (для модификаций с ЭФУ).

апрель 2005 года.

С целью сокращения номенклатуры изделий взамен всех ранее устанавливаемых на тракторы с механической трансмиссией датчиков указателя давления и приемников указателя температуры применены:

  • датчик указателя давления 3902.3829;
  • приемник указателя температуры 36.3807;

Приемник указателя давления УК-170М-У-ХЛ заменен приемником указателя давления 331.3810.

С целью повышения безопасности и во исполнение требования Госгортехнадзора РФ по требованию заказчика на трактор может быть установлен проблесковый маяк «Спектр» СК01.000-10, который поставляется в комплекте, содержащем в себе детали крепления маяка на крыше кабины: опору 64-10-393СП, болты M8-6gx20.88.35.19 (4 шт.), шайбы 8Т 65Г 09 (4 шт.).

может быть установлен проблесковый маяк

Схема подключения к электрооборудованию трактора приведена в руководстве по эксплуатации 64-18РЭ.

июнь 2005 года.

С целью защиты проводов фар кабины введены следующие изменения: провода удлинили, изолировали лентой ПВХ 20x0,3 и ввели в гофрированную трубку 700-42-2961.

август 2005 года.

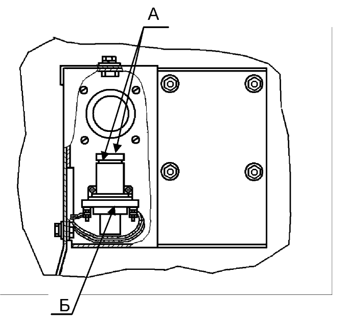
С целью защиты от механических повреждений контакторов КТ 127 запуска стартера и запуска МЗН введено покрытие поверхностей А и Б герметиком «Анатерм В-К»

покрытие герметиком Анатерм В-К

IV квартал 2005 г.

Тракторы отгружаются с заряженными аккумуляторными батареями.

В эксплуатации, при подготовке трактора к работе, следует проверить уровень и плотность электролита. При необходимости, довести их до требуемых инструкцией по эксплуатации аккумуляторных батарей (инструкция прилагается к трактору).

I квартал 2006 г.

Для оперативного контроля уровня топлива в баке, в кабине на щитке приборов установлен указатель уровня топлива УБ 170М (рис. а - для трактора с МТ и рис. б - для трактора с ГМТ).

установлен указатель УБ 170М

Датчик уровня топлива вворачивается во втулку РИВП 711351.005, вваренную в отверстие топливного бака (рис. в).

Датчик вворачивается во втулку

май 2006 г.

На тракторы с электростартерной системой пуска двигателя взамен аккумуляторных батарей 6СТ-182 ЭМС устанавливаются батареи 6СТ-190А с улучшенными эксплуатационными характеристиками (увеличена емкость, уменьшен вес, усовершенствовано крепление, улучшены пусковые характеристики, сокращено обслуживание, увеличен срок службы).

Аккумуляторные батареи 6СТ-75ЭМ, устанавливаемые на тракторы с пусковым двигателем, заменены батареями 6СТ-75АП (6СТ-75АПЗ, 6СТ-74А) с усовершенствованным креплением их.

август 2006 г.

С целью повышения безопасности и во исполнение требований Ростехнадзора, тракторы комплектуются проблесковым маяком «Спектр» СК01.000-10 с деталями крепления маяка на крыше кабины: опорой 64-10-393СП, болтами M8-6gx20.88.35.019 (4 шт.), шайбами 8Т 65Г 09 (4 шт).

тракторы комплектуются проблесковым маяком

Схема подключения к электрооборудованию трактора приведена в руководстве по эксплуатации 64-18РЭ.

III квартал 2006 г.

Взамен счетчика времени наработки СВН-2-02 и указателя напряжения 11.3812 внедрен комбинированный прибор - счетчик моточасов/вольтметр УК34.2.

I квартал 2007 г.

рибор УК34.2 предназначен для измерения и отображения в цифровом виде времени наработки двигателя и напряжения бортовой сети, устанавливается в щитке управления.

I квартал 2007 г.

Для измерения оборотов коленчатого вала дизеля и более эффективного использования мощности при различных режимах нагружения трактора внедрен тахометр ТХА3.1. Прибор устанавливается в щитке приборов.

внедрен тахометр ТХА3.1

I квартал 2007 г.

Для обеспечения электробаланса генератор Г1000В мощностью 1 кВт. заменен генератором 5201.3771-10 мощностью 1,5 кВт.

II квартал 2007 г.

С целью унификации введен единый щиток управления 64-10-600СП взамен ранее устанавливаемых в кабинах тракторов класса 10 щитков управления:

  • 64-10-540СП - для базового трактора;
  • 64-10-540-01СП - для тракторов с тяговой лебедкой;
  • 64-10-540С-02П - для кабин со стекпоомывателями;
  • 64-10-540-03СП - для сельскохозяйственных тракторов и трубоукладчиков.

введен единый щиток управления 64-10-600СП

февраль 2008 г.

Ввод в кабину трактора панели приборной ПП-01, предназначенной для контроля работы агрегатов и систем трактора.

ввод панели приборной пп-01

Функции панели приборной:

  1. Непрерывное отображение информации:
    • состояние силовой моторной установки;
    • режимы рабочих органов;
    • режимы работы электрогидравлики.
  2. Непрерывный контроль выхода параметров за предельные и аварийные значения, индикация аварийных режимов.
  3. Учет времени работы в моточасах.
  4. Обеспечивает речевую и текстовую информацию на русском и английском языках.
  5. Отсутствие устаревших электромеханических измерительных приборов.
  6. Непрерывный контроль датчиков на обрыв и замыкание.
  7. Ведение архива всех аварийных событий для возможности его последующего анализа при сервисном обслуживании.

январь 2010 г.

Для улучшения климата в кабине установлен вентилятор 526-8104210.

январь 2010 г.

Для защиты аккумуляторных выводов установлены резиновые колпачки 2108-3724178.

I квартал 2010 г.

Вместо датчиков ММ129 устанавливаются итальянские датчики К4ТС/Э1/8,2/Р1 с защитным чехлом.

октябрь 2010 г.

На тракторах Т10М и Т12 изменен щиток управления. Применены более надежные и удобные в эксплуатации предохранители.

изменен щиток управления

I квартал 2013 года

На тракторах Т10М изменена конструкция щитка приборов , вместо устаревших приборов применена компактная панель приборная ПП-08, установленная на блоке пуска и контроля.

применена панель приборная ПП-08

Применение панели приборной ПП-08 позволяет упростить монтаж и обслуживание, обеспечивает непрерывное отображение информации:

  • состояние силовой моторной установки;
  • режимы работы трансмиссии;
  • текстовую и речевую информацию о сстоянии агрегатов и аварийных ситуациях;
  • непрерывный контроль резисторных датчиков на обрыв и замыкание;

Предусмотрено подключение переферийных устройств по CAN SAE, ведутся работы по подключению к системе ГЛОНАСС.

II квартал 2013 года.

На тракторах Б12 и Т10М с гидромеханической трансмиссией также вместо устаревших приборов применена панель приборная ПП-08, установленная на блоке пуска и контроля.

применена панель приборная ПП-08

II квартал 2013 года.

На тракторах типа Т10М и Т12 вместо фар 761.3711 с лампами накаливания применены галогенные фары фирмы «HELLA», при этом освещённость рабочей зоны впереди трактора увеличилась на 40...650%, сзади трактора на 55...510%.

применены галогенные фары HELLA

II кв. 2013 г.

На тракторах с пусковым двигателем заменены высоковольтные провода зажигания к наконечникам свечей магнето.

Применяемые ранее провода 10663 и 10664 с токопроводящей жилой устанавливались в электрооборудование двигателя без помехоподавительных резисторов, что в некоторых случаях осложняло работу электронных систем трактора.

В настоящее время в электрооборудование пускового двигателя устанавливаются провода зажигания 64-10-856СП и 64-10-857СП, изготовленные из высоковольтных помехоподавляющих силиконовых проводов с распределенным сопротивлением, что значительно снизило влияние электромагнитных помех на работу электронных систем трактора.

2015 г.

На тракторах в настоящее время устанавливается панель приборная ПП-08, которая позволяет:

  • упростить монтаж и обслуживание;
  • обеспечение речевой (через встроенный динамик) и текстовой информацией о текущем состоянии агрегатов, аварийных ситуациях и необходимых регламентных работах;
  • полное отсутствие устаревших электромеханических измерительных приборов;
  • непрерывный контроль резистивных датчиков, информирующих об обрыве и замыкании;
  • ведение архива всех аварийных событий с возможностью его последующего анализа («черный ящик»);
  • сохранение архива аварийных событий и показаний счетчика моточасов при замене и повреждении, кроме случая полного разрушения;
  • устанавливать на трактор «Глобальную навигационную спутниковую систему» ГЛОНАСС.

Изменения в гидросистеме и управлении трактором Т10

Продолжая работы по дальнейшему совершенствованию тракторов типа Т10, в марте 2003 года завод приступил к выпуску промышленной партии модернизированных тракторов Т10М с вынесенной вперед точкой крепления гидроцилиндров.

Общий вид бульдозерно-рыхлительного агрегата на базе трактора Т10М, в сравнении с агрегатом на базе Т10, представлен на рисунке 7.

бульдозерно-рыхлительного агрегат на базе трактора Т10М

март 2003 г.

Введен портал 64-11-146СП с вынесенной вперед точкой крепления длинноходовых гцдроцилиндров передней навесной системы.

Введен портал 64-11-146СП

Основными элементами портала являются:

  • боковины 64-11-150СП/150-01СП;
  • труба 64-11-132;
  • кронштейны 64-55-217СП/217-01СП для крепления фар капота;
  • кронштейны 64-55-220СП/220-01СП для крепления лобовины.

Портал является составной частью рамы трактора сварной конструкции и служит для крепления элементов капота, блока радиаторов, гидробака и гидроцилиндров.

март 2003 г.

Изменена конструкция гидробаков:

  • взамен двух силовых баков, соединенных стяжной трубой (сборка 64-26-407СП), введен один разгруженный бак 64-26-39СП;
  • крепление гидроцилиндров передней навесной системы вынесено с гидробаков на портал.

введен бак 64-26-39СП


март 2003 г.

С целью повышения надежности уплотнения резиновые кольца 060-070-58-2-2 (между патрубком 50-26-277 и насосом НШ-100) и 018-022-25-2-2 (гидрораспределителя 50-26-61СП) заменены на кольца из резины на основе фторкаучука, с изменением обозначения на 050-070-58-2-5 и 018-022-25-2-5 соответственно и сохранением взаимозаменяемости.

2 квартал 2003 г.

С целью повышения надежности фиксации горного тормоза, пластинчатый зацеп 64-13-97, крепящийся болтом, заменен запрессованным штифтовым зацепом 64-13-138.

зацеп 64-13-97 заменен на 64-13-138

Зацепы не взаимозаменяемы.

июль 2003 г.

Усовершенствована конструкция гидрозамка 50-50-195СП с целью разгрузки и устранения смятия переходника, деформации и разрушения пружины 700-38-2851. При этом введены следующие изменения:

  • дополнительная втулка 50-50-279;
  • переходник 50-50-281 вместо 50-50-211;
  • клапан 50-50-197СП с усиленным хвостовиком взамен 50-50-196СП.

Усовершенствована конструкция гидрозамка 50-50-195СП

Обозначение и взаимозаменяемость гидрозамков сохранены.

май 2004 года

С целью устранения течи из гидробаков усилены сварные швы в районе приварки стяжной трубы, на привариваемых накладках введена разделка кромок под сварку.

август 2004 г

С целью повышения надежности фильтров гидросистемы взамен фильтрующих элементов 50-26-490СП (3 шт.) устанавливаются ЭФМ-011. Указанные фильтрующие элементы взаимозаменяемы.

август 2004 г

С целью повышения коррозионной стойкости введено цинкование хомутов 261115 крепления труб и рукавов гидросистемы трактора.

апрель 2005 года

С целью устранения течи масла через уплотнения в гидросистеме взамен колец из обычной резины введены кольца из фторсиликоновой резины ФС-608 в узлах:

а) гидрораспределитель 50-26-61СП:

  • 700-40-9558 взамен 46764;
  • 700-40-9559 взамен 700-40-2135;
  • 700-40-9560 взамен 700-40-7374;
  • 700-40-9561 взамен 018-022-25-2-2;
  • 700-40-9562 взамен 022-028-36-2-2;
  • 700-40-9563 взамен 027-032-30-2-2;
  • 700-40-9564 взамен 039-045-36-2-2;

б) сервомеханизм 50-15-118СП:

  • 700-40-9560 взамен 700-40-7374;
  • 700-40-9567 взамен 700-40-7375;

в) сервомеханизм 21-17-4СП:

  • 700-40-9565 взамен 700-40-7573;

г) установка гидросистемы 64-26-34СП:

  • 700-40-9568 взамен 038-046-46-2-2;
  • 700-40-9569 взамен 060-070-58-2-5;

д) установки передних трубопроводов 64-26-35СП и трубопроводов перекоса отвала 64-26-36СП, 64-26-37СП:

  • 700-40-9558 взамен 46764;

е) гидросистема управления трактором 64-56-1ЗСП/14СП:

  • 700-40-9559 взамен 700-40-2135;
  • 700-40-9566 взамен 700-40-7415;

Кольца из фторсиликоновой резины взаимозаменяемы с ранее устанавливаемыми кольцами.

июнь 2005 года

6.3 С целью повышения надежности введен покупной гидрораспределитель Р160-3/1-111 (производство завода «Тракторных гидроагрегатов», г. Мелитополь) взамен гидрораспределителя 50-26-61СП производства ООО «ЧТЗ-УРАЛТРАК».

июнь 2005 года

С целью устранения течи масла по штоку гидроцилиндра и преждевременного износа штока, введены новые грязесъемники с дополнительным защитным кольцом, обеспечивающие качественную очистку штока от пыли и грязи:

  • грязесъемник Е 50-А-080-5 взамен грязесъемника Е52-080-1 (в гидроцилиндрах 50-50-225СП/226СП). Установка новых грязесъемников вызвала замену фланца 50-50-228 на 50-50-228-01;
  • грязесъемник Е 50-А-063-5 взамен грязесъемников Е52-063 и Е52-063-1 (соответственно в гидроцилиндрах 50-26-570СП и 131-26-108СП). Установка новых грязесъемников вызвала замену фланца 50-26-885 на 50-26-885-01.

Для использования на ранее выпускаемых тракторах новых грязесъемников необходимо менять и фланец.

введены новые грязесъемники с дополнительным защитным кольцом

сентябрь 2005 года.

Для улучшения трассы подвода рабочей жидкости к гидроцилиндрам отвала рукава 64-26-27-06СП заменены укороченными 64-26-27-05СП, с сохранением взаимозаменяемости.

IV квартал 2005 г.

Заменены передние трубы гидросистемы рукавами высокого давления, в связи с чем уменьшилось число мест соединений, что позволило снизить трудоемкость технического обслуживания и уменьшить возможность течи.

Заменены передние трубы гидросистемы

Введены следующие изменения сопрягаемых деталей и сборочных единиц:

а) аннулированы:

  • рукава 50-26-486-08СП (2 шт.);
  • трубы 64-26-244СП/244-01СП на тракторах с гидромеханической трансмиссией (ГМТ), трубы 50-26-766СП/767СП на тракторах с механической трансмиссией (МТ);
  • кольца 46856 (2 шт.);

б) введены вновь:

  • кронштейн 50-26-237СП;
  • рукава 50-26-486-20СП (2 шт.) на тракторах с ГМТ, рукава 50-26-486-22СП (2 шт.) на тракторах с МТ;

в) заменены кольца 46764 (2 шт.) из обычной резины кольцами 700-409556 из фторсиликоновой резины.

IV квартал 2005 г.

С целью повышения ресурса цилиндров 71-26-106СП, 71-26-106-01СП управления лебедкой трубоукладчика и устранения течи введены два углепластовых опорно-направляющих кольца Е23-027-032, а кольца 027-032-30-2-2 из обычной резины заменены кольцами 700-40-9563 из фторсиликоновой резины. При этом шток 71-26-4 заменен штоком 71-26-40.

введены кольца Е23-027-032

январь 2006 г.

С целью улучшения условий обслуживания место соединения труб и рукавов управления гидроперекосом отвала перенесено в более доступное для обслуживания. При этом трубы 64-82-319СП и 64-82-319-01СП заменены укороченными трубами 64-82-320СП, рукава 50-26-485-06СП заменены рукавами 50-26-485-10СП.

трубы и рукава заменены

май 2006 г.

Гидросистема управления бульдозерным оборудованием. Для смазки шеек вилок 64-26-164 в стопоры 64-26-165 установлены масленки 1.3.Ц6.

установлены масленки 1.3.Ц6

С целью повышения надежности фиксации стопоров болты M6-6gx20.88.35.019 заменены болтами 700-28-2705 и введена их контровка проволокой КО-1,4.

I квартал 2008 г.

С целью обеспечения более надежного герметичного соединения «труба-рукав» изменена ширина червячных хомутов фирмы «NORMA» (Германия) с 9 на 12 мм.

апрель 2010 г.

В гидравлической системе трактора Б11 уменьшено количество соединений «труба-рукав» за счет изменения конфигурации труб.

май 2010 г.

Для улучшения удобства технического обслуживания гидравлической системы, приводов и трансмиссии трактора Б11 проведены мероприятия по увеличению угла подъема платформы до 72°.

увеличение угла подъема платформы

май 2010 г.

Для удобства сборки и регулировки длин тяг приводов управления введена модульная конструкция колонок управления 114-24-2СП.

июнь 2010 г.

Введено всесезонное масло гидравлическое «МГТ» ТУ 38.1011103-87 для гидросистемы навесного оборудования для всех тракторов.

с I квартала 2011 года.

Улучшена надежность стопорения регулировочного винта сервомеханизма муфты сцепления.

улучшена надежность стопорения

с IV квартала 2012 года.

Внедрены насосы гидросистемы навесного оборудования НШ-32 и НШ-100 с улучшенной манжетой фирмы «Simrit», исключающие перетечку рабочей жидкости по валу насоса.

с 2011 года.

Гидросистема управления тяговой лебедкой унифицирована для всех типов лебедок. Установлен блок клапанов с одним переливным и предохранительным клапаном вместо двух.

установлен блок клапанов

с 2012 года.

Заменена манжета 3-48 х 28-6 ГОСТ 14896-84 в сервомеханизме муфты сцепления 50-15-118СП на польскую манжету U1-28 х 10 из материала W1911.

сентябрь 2013 года.

Для повышения чистоты масла в гидросистеме гидромеханической трансмиссии (ГМТ) на тракторах Б11, Б12, Б14, Б10М.6 и Б10М2.6 в трассе всасывания насоса НШ 50А-3Л установлен магнитный фильтр.

Магнитный фильтр обеспечивает очистку рабочей жидкости от металлических частиц. Он состоит из постоянных магнитов, расположенных друг к другу одноименными полюсами.

Гидросистема питания, управления и смазки ГМТ


1 – гидротрансформатор;
2 – насос НШ 50А-3Л;
3 – планетарная коробка передач;
4 – фильтр;
5 – трасса всасывания насоса НШ 50А-3Л рабочей жидкости из коробки передач.

Гидросистема питания, управления и смазки ГМТ с установкой магнитного фильтра


1 – гидротрансформатор;
2 – насос НШ 50А-3Л;
3 – планетарная коробка передач;
4 – фильтр;
5, 7 – трасса всасывания насоса НШ 50А-3Л рабочей жидкости через магнитный фильтр из коробки передач;
6 – магнитный фильтр.

II кв. 2016 г.

С целью снижения загрязненности масла в системе управления ГМТ во всех планетарных коробках переменных передач (ПКПП) введен клапан слива для замены масла после обкатки ПКПП на стенде и в процессе эксплуатации.

Ввод клапана слива

декабрь 2014 г.

Втулки, применяемые в управлении тракторов, изготовлены в настоящее время из материала Полиамид Аркаим 1006 вместо железографита.

Обозначение втулок
Было Стало
50-11-20 64-44-357
50-11-36 50-11-36-01
50-11-37 50-11-37-01
35-13-16-1 64-13-148
50-13-26 64-13-146
50-13-56 64-13-147
50-13-194 64-13-145
50-15-20 64-15-3
50-15-22 64-15-5
50-15-23 64-15-6
50-15-24 64-15-4
24-74-248-1 64-74-93
24-74-249-1 64-74-94
50-74-24 64-74-95

II кв. 2015 г.

На тракторах Т10М с двигателем ЯМЗ и механической трансмиссией (Т10М.6100) заменен сервомеханизм муфты сцепления серийным сервомеханизмом 50-15-118СП и узел привода насоса НШ100. Усилена балка установки педали. Изменена схема передачи управления от валика сервомеханизма до рычага муфты сцепления. Кронштейн крепления сервомеханизма на кожухе муфты сцепления выполнен разъемным, позволяющий проще снимать сервомеханизм с трактора.

Данные технические решения повысили работоспособность конструкции и упростили соответствующие узлы.

Установка на тракторе сервомеханизма 700-79-5300СП


1 – толкатель;
2 – пята;
3 – стержень регулировочный;
4 – винт стопорный;
5 – пробка;
6 – шток;
7 – клапан;
8 – корпус;
9 – гайка;
10 – болт.

Установка на тракторе сервомеханизма 50-15-118СП


1 – стержень регулировочный;
2 – винт стопорный;
3, 6 – пробка;
4 – шток;
5 – клапан;
7 – корпус;
8 – пята;
9 – вал;
10 – болт.

Привод насоса НШ 100 с карданом


1 – насос GP100G-32М-3ЛA;
2 – маслёнка;
3 – кронштейн;
4 – муфта;
5 – подшипник;
6 – проставка;
7 – ступица;
8 – полумуфта;
9 – кардан;
10 – полумуфта;
11 – шкив двигателя;
12 – заглушка;
13 – крышка.

 Привод насоса НШ-100 с вилкой карданного вала


1 – насос GP100G-32М-3ЛA;
2 – маслёнка;
3 – кронштейн;
4 – муфта;
5 – подшипник;
6 – проставка;
7 – ступица;
8 – кольцо;
9 – вилка карданного вала;
10 – полумуфта;
11 – муфта;
12 – крышка;
13 – штифт;
А – шкив двигателя.

I кв. 2016 г.

Изменения в навесном оборудовании Т10

Во избежание течи через отверстия корпуса бортовых фрикционов пробки 700-42-2427 (используемые при транспортировании трактора) устанавливаются на клей-герметик силиконовый Полисил ТУ 2252-001-51221435-00, а шпильки 29338 крепления опорной рамы рыхлительного оборудования - на герметик «Анатерм-8» ТУ 6-01-1215-79.

I квартал 2006 г.

Для улучшения удобства технического обслуживания трактора с лебедкой ЛТ25 введена система доступа к обслуживаемой зоне в виде лестницы и рабочей площадки на лебедке.

введена система доступа

IV квартал 2012 года

С целью снижения затрат и устранения литья разработано жесткое прицепное устройство сварной конструкции (64-51-218СП/СБ) взамен литой (50-51-118СП/СБ).

Изготовлены первые образцы и проведены испытания в составе трактора на разновекторных нагрузках, превышающих эксплуатационные. Результаты испытаний положительные, замечаний к устройству нет. Устройство получилось легче, прочнее и дешевле серийного (литой конструкции):

  • вес узла снижен на 28 кг (вместо 140 кг стало 112 кг);
  • жесткость и прочность конструкции увеличены на 30-40 %;
  • исключена механическая обработка (кроме крепежных отверстий);
  • в конструкции отсутствуют литые детали.

Замена литого жесткого прицепного устройства на сварную конструкцию

декабрь 2015 г.

Изменения в компоновке трактора Т10

С целью унификации моделей тракторов устранены различия в составе тракторов, предназначенных для агрегатирования бульдозерным оборудованием, и тракторов, предназначенных для агрегатирования бульдозерно-рыхлительным оборудованием. В связи с этим исключены модели тракторов с индексом «-1». Жесткое и маятниковое прицепные устройства введены в состав тракторов по требованию потребителя.

август 2011 года.

Введен трактор Т14.6020 класса 15.

март 2012 года.

Введен трактор Т10МБ.0121-14 под установку крана КП-25.

апрель 2012 года.

Для тракторов Т10М.0100, Т10МБ.0120, Т10М.6000, Т10М2Б.6020, Т11, Т12, Т14 введены 100% отверстия в рамах тележек для установки защиты ходовой.

ноябрь 2012 года.

Для тракторов Т10М.0100, Т10М.0101, Т10М.0100-12 и Т10М.0101-12 введены 100% щитки от схода гусениц и сиденья с ремнем безопасности.

июнь 2012 года.

Для тракторов Т10МБ.0120 и Т10МБ.0121 введена 100% платформа с кронштейнами, для установки защиты оператора и поручни на ROPS.

март 2013 года.

Изменения в тракторах Т10 и Т10М