Запасные части ЧТЗ Запасные части ЧТЗ
Горловка
Например:
Актобе
Алдан
или
Выбрать автоматически
Актобе
Алдан
Алматы
Алчевск
Архангельск
Астана
Астрахань
Атырау
Баку
Балашиха
Барнаул
Белгород
Бердянск
Бишкек
Владивосток
Владикавказ
Воркута
Воронеж
Горловка
Грозный
Донецк
Екатеринбург
Иваново
Ижевск
Иркутск
Казань
Калининград
Каменск-Уральский
Караганда
Каховка
Кемерово
Киров
Комсомольск-на-Амуре
Костанай
Краснодар
Красноярск
Красный луч
Ленск
Луганск
Магадан
Магнитогорск
Макеевка
Махачкала
Мелитополь
Минск
Мирный (Якутия)
Москва
Мурманск
Нерюнгри
Нижневартовск
Нижний Новгород
Нижний Тагил
Новая каховка
Новокузнецк
Новосибирск
Новый Уренгой
Норильск
Ноябрьск
Нур-Султан
Омск
Оренбург
Ош
Павлодар
Пермь
Петрозаводск
Петропавловск
Петропавловск-Камчатский
Псков
Ростов-на-Дону
Салехард
Самара
Санкт-Петербург
Саратов
Севастополь
Семей
Симферополь
Сочи
Ставрополь
Сургут
Сыктывкар
Тараз
Ташкент
Токмак
Томск
Тында
Тюмень
Ульяновск
Усинск
Усть-Каменогорск
Уфа
Хабаровск
Ханты-Мансийск
Херсон
Челябинск
Чита
Шымкент
Экибастуз
Энергодар
Южно-Сахалинск
Якутск
Ваш город
Горловка
Войти
Запасные части к тракторам на одном сайте
Отправить заявку


Система подачи топлива


/
с НДС 20%
Описание
Система питания дизеля Д-160
Рис. 8. Система питания
1-бак топливный; 2-форсунки; 3-трубки высокого давления; 4-трубка подвода топлива к фильтру тонкой очистки; 5-фильтры тонкой очистки топлива; 6-датчик аварийного давления топлива; 7-трубка отвода топлива от фильтра тонкой очистки; 8-трубка слива утечек топлива; 9-свеча накаливания ЭФУ; 10-клапан электромагнитный; 11-трубка подвода топлива к ЭФУ (9, 10, 11-только для дизелей с ЭССП); 12-регулятор; 13-насос топливный; 14-насос топливоподкачивающий; 15-фильтр грубой очистки топлива; 16-трубка подвода топлива к фильтру грубой очистки; 17-кран проходной; 18-кран сливной; а-топливо неочищенное; b-топливо, прошедшее очистку в фильтре грубой очистки; с-очищенное топливо; d-топливо слива из форсунок и фильтра тонкой очистки.

Система питания (рис. 8) состоит из бака, топливного насоса высокого давления, топливоподкачивающего насоса, фильтров грубой и тонкой очистки топлива, топливопроводов низкого и высокого давления и форсунок. Топливный насос высокого давления собран вместе с регулятором частоты вращения.

Фильтр очистки двигателя Д-160
Рис. 9. Фильтр грубой очистки
1-пробка сливного отверстия; 2-стакан фильтра; 3-успокоитель; 4-отражатель с фильтрующим элементом; 5-кольцо нажимное; 6-прокладка; 7-корпус фильтра; 8-кольцо; а-топливо, не прошедшее очистку; b-топливо, прошедшее очистку в фильтре грубой очистки.

Топливо из бака поступает в фильтр грубой очистки (рис. 9), затем подается топливоподкачивающим насосом в фильтр тонкой очистки и далее в насос высокого давления. Насос высокого давления в соответствии с порядком работы цилиндров подает топливо к форсункам, через которые оно впрыскивается в цилиндры дизеля.

Насос топливный двигателя Д-160
Рис. 10. Насос топливный
1-корпус подшипника; 2-пружина корректора; 3-контргайка муфты; 4-тяга рейки; 5-крышка корректора; 6-угольник стопорный муфты; 7-муфта регулирующая; 5-пружина толкателя; 9-толкатель; 10-контргайка толкателя; 11-тарелка толкателя; 12-хвостовик толкателя; 13-заглушка; 14-кольцо резиновое; 15-сектор зубчатый; 16-плунжер; 17-гильза; 18-седло обратного клапана; 19-трубка соединительная; 20, 21-кольца уплотнительные; 22-клапан обратный; 23-штифт; 24-пружина обратного клапана; 25-игла продувочного вентиля; 26-кольцо стопорное; 27-штуцер; 28-корпус секции; 29-винт стопорный; 30-болт; 31-угольник прижимной; 32-пластина направляющая; 33-кольцо тяги рейки упорное; 34-поводок рейки; 35-крышка бокового люка; 36-рейка; 37-втулка кулачкового вала передняя; 38-корпус насоса; 39-пробка заливного отверстия; 40-топливоподкачивающий насос; 41-палец толкателя направляющий; 42-пробка сливного отверстия; 43-ролик толкателя; 44-вал кулачковый; 45-ось ролика толкателя; 46-болт; 47-шайба упорная; 48-крышка подшипника; 49-пластина стопорная.

Насос топливный (рис. 10) плунжерного типа, в верхней части корпуса насоса установлены четыре секции с плунжерными парами и нагнетательными клапанами.

Вторая и третья секции имеют плунжеры с более широким в сторону спирали перепускным пазом, что позволяет при работе дизеля на холостом ходу автоматически (за счет прекращения подачи топлива) отключать второй и третий цилиндры дизеля, что уменьшает нагаро- и смолоотложение в выпускном тракте.

При загрузке дизеля автоматически вступают в работу все цилиндры. Плунжерные пары второй и третьей секций не взаимозаменяемы с плунжерными парами первой и четвертой секций.

Внутри корпуса расположен кулачковый вал, четыре толкателя с пружинами, рейка и тяга рейки. На задней поверхности корпуса расположен корректор подачи топлива.

Регулятор частоты вращения двигателя Д-160
Рис. 11. Регулятор
1-крышка; 2-вал регулятора; 3-втулка заднего подшипника; 4-сальник; 5-рычаг трехплечий; 6-тяга рейки; 7-упор минимальной частоты вращения; 8, 9-пружнны; 10-болт упора минимальной частоты вращения регулировочный; 11-втулка стопорная; 12, 37-крышки: 13-пружина; 14-болт упора максимальной частоты вращения регулировочный; 15-рычаг регулятора; 16-втулка; 17-вал вертикальный; 18-крышка подшипника; 19-трубка масло-подводящая; 20-ролик; 21-подшипник игольчатый; 22-шарикоподшипник упорный; 23-валик рычага регулятора; 24-муфта регулятора; 25-рычаг двуплечий; 26-шестерня привода регулятора; 27-груз регулятора; 28-шарикоподшипник упорный; 29-фланец; 30, 34-корпуса подшипников; 31-прокладки регулировочные; 32-плиты упорные; 33-шайба упорная; 35-втулка подшипника; 36-шестерня; 38-работомер; 39-отверстие дренажное; 40-валик трехплечего рычага; 41-шестерни конические привода работомера; 42-штифты направляющие; 43-упор максимальной частоты вращения; 44-шестерня.

Регулятор частоты вращения (рис. 11) всережимный центробежный. Он состоит из корпуса, вала привода, вертикального вала с грузиками и муфтой, системы рычагов, тяги, пружины, болтов для регулирования минимальной и максимальной частот вращения, наружного рычага и др.

Регулятор, действуя на рейку насоса через систему рычагов и тяг, изменяет подачу топлива в зависимости от нагрузки, поддерживает заданную частоту вращения.

Топливоподкачивающий насос (см. рис. 10) поршневого типа с ручным насосом, служащим для удаления воздуха из топливной системы перед пуском и создания давления перед свечой ЭФУ.

Топливоподкачивающий насос устанавливается на корпусе топливного насоса высокого давления и имеет привод от кулачкового вала топливного насоса.

Фильтр грубой очистки (см. рис. 9) представляет собой отстойник с установленным в нем сетчатым фильтрующим элементом.

Фильтр тонкой очистки двигателя Д-160
Рис. 12. Фильтр тонкой очистки топлива
1-пробка; 2-кольца уплотнительные; 3-стержень стяжной; 4-уплотнение; 5-стакан; 6-элемент фильтрующий; 7-штуцер; 8-прокладка; 9-крышка; 10-заглушка; 11-вентиль продувочный; 12, 13-кольца уплотнительные; а-топливо, прошедшее очистку в фильтре грубой очистки топлива; b-топливо, прошедшее очистку в фильтре тонкой очистки.

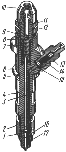
Форсунка двигателя Д-160
Рис. 13. Форсунка
1-игла распылителя; 2-гайка распылителя; 3-штанга; 4-корпус форсунки; 5, 9, 17-кольца уплотнительные; 6-щиток; 7-пружины; 8-шайба; 10-колпак; 11-винт регулировочный; 12-контргайка; 13-штуцер; 14-элемент фильтрующий; 15-кольцо; 16-корпус распылителя.

Форсунка (рис. 13) закрытого типа, распылитель форсунки бесштифтовый с пятью распыляющими отверстиями. В штуцере форсунки установлен щелевой фильтр.

В зависимости от климатических условий в дизеле применяется дизельное топливо:
  • летнее Л-0,2-40 для эксплуатации при температуре окружающего воздуха 0°С и выше;
  • зимнее 3-0,2 минус 35 с температурой застывания топлива минус 35°С для эксплуатации при температуре окружающего воздуха от 0 до минус 20°С;
  • зимнее 3-0,2 минус 45 с температурой застывания топлива минус 45°С для эксплуатации при температуре окружающего воздуха от 0 до минус 30°С;
  • арктическое А-02 для эксплуатации при температуре окружающего воздуха до минус 50°С.
Для пускового двигателя П-23У применять бензин автомобильный А-72 или А-76.

Рекомендации по применению топлив при эксплуатации дизеля в других странах приведен ниже.

Топливо, заправляемое в бак, не должно содержать воду и механические примеси. При проверке топливо с температурой выше 10°С, налитое в стеклянный цилиндрический сосуд диаметром 50-55 мм, должно быть прозрачным и не содержать взвешенных и осевших на дно посторонних примесей, в том числе и воды.

Резервуары для хранения топлива должны быть чистыми.

Горловины цистерн, бочек, топливных баков должны быть герметично закрыты, а вентиляционные отверстия защищены от попадания в них пыли. Дизельное топливо должно отстаиваться не менее 48 часов.

Заправку производить закрытым способом топливозаправочными средствами, оборудованными исправным фильтром. При заправке топливом, устранении неисправностей и проведении технического обслуживания топливной системы необходимо исключить попадание топлива на землю.
Система подачи топлива