Запасные части ЧТЗ Запасные части ЧТЗ
Горловка
Например:
Актобе
Алдан
или
Выбрать автоматически
Актобе
Алдан
Алматы
Алчевск
Архангельск
Астана
Астрахань
Атырау
Баку
Балашиха
Барнаул
Белгород
Бердянск
Бишкек
Владивосток
Владикавказ
Воркута
Воронеж
Горловка
Грозный
Донецк
Екатеринбург
Иваново
Ижевск
Иркутск
Казань
Калининград
Каменск-Уральский
Караганда
Каховка
Кемерово
Киров
Комсомольск-на-Амуре
Костанай
Краснодар
Красноярск
Красный луч
Ленск
Луганск
Магадан
Магнитогорск
Макеевка
Махачкала
Мелитополь
Минск
Мирный (Якутия)
Москва
Мурманск
Нерюнгри
Нижневартовск
Нижний Новгород
Нижний Тагил
Новая каховка
Новокузнецк
Новосибирск
Новый Уренгой
Норильск
Ноябрьск
Нур-Султан
Омск
Оренбург
Ош
Павлодар
Пермь
Петрозаводск
Петропавловск
Петропавловск-Камчатский
Псков
Ростов-на-Дону
Салехард
Самара
Санкт-Петербург
Саратов
Севастополь
Семей
Симферополь
Сочи
Ставрополь
Сургут
Сыктывкар
Тараз
Ташкент
Токмак
Томск
Тында
Тюмень
Ульяновск
Усинск
Усть-Каменогорск
Уфа
Хабаровск
Ханты-Мансийск
Херсон
Челябинск
Чита
Шымкент
Экибастуз
Энергодар
Южно-Сахалинск
Якутск
Ваш город
Горловка
Войти
Запасные части к тракторам на одном сайте
Отправить заявку


Ремонт водяного и масляного радиаторов Т-170 Б-170 трактора в Горловке


/
с НДС 20%
Описание

Снятие водяного и масляного радиаторов Т-170

Слейте воду из системы охлаждения и масло из масляных радиаторов.

Откройте переднюю решетку радиатора; Откройте переднюю крышу капота, отсоедините стойку, и отведите крышу в сторону.

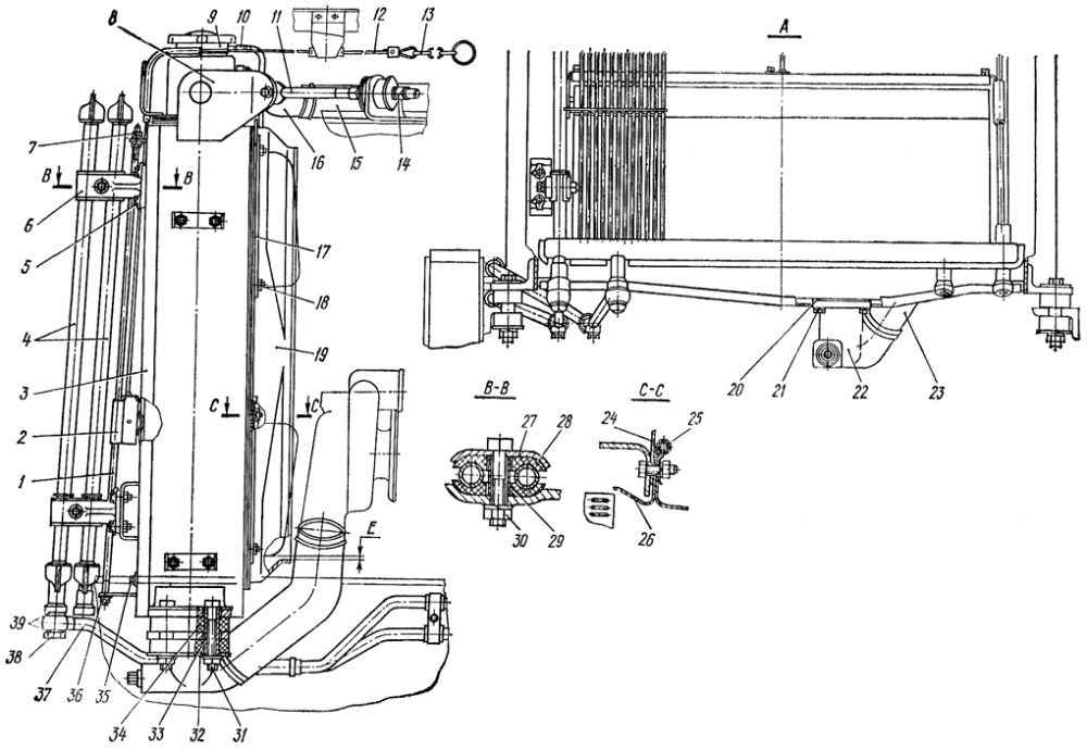
Водяной и масляные радиаторы

Рис. 313. Водяной и масляные радиаторы

Отсоедините рукав водоотводной трубы 75 ( рис. 313 ) от верхнего патрубка 16 радиатора.

Снимите крышку люка на задней крыше капота и отсоедините тросик 12 шторки радиатора от цепочки 13 управления. Отверните четыре болта 21 и отсоедините от водяного,радиатора кран-22.

Ослабьте задние гайки 14 крепления раскосов на гидробаках, отверните гайки с болтов проушин 8 радиатора и отсоедините раскосы 11 от радиатора.

Прикрепите радиаторы к подъемнику за две верхние проушины 8. Масса водяного и масляных радиаторов (без воды и масла) — 125 кг.

Отверните четыре полых болта 38 и отсоедините трубопроводы 37 от масляных радиаторов. Отверните четыре гайки с болтов 31 крепления радиаторов к, лонжеронам трактора (по две гайки — с каждой стороны). Снимите нижние накладки 32 и выньте болты 31 с верхними накладками из втулок амортизаторов.

Приподнимите радиаторы подъемником и снимите с трактора, стараясь не повредить лопасти вентилятора. Снимите амортизаторы 34 со втулками 33 с лонжеронов трактора.

Разборка водяного и масляного радиаторов Т-170

Пометьте положение щитка 19 вентилятора на боковинах 3 водяного радиатора для того, чтобы при сборке установить его на прежнее место.

Отверните восемь гаек 18 со шпилек боковин радиатора, снимите пружинные шайбы. Снимите четыре накладки 17. Снимите со шпилек четыре скобы 25 крепления сливной трубки 10 и отсоедините ее от штуцера заливной горловины 9. Снимите два козырька 26, два уплотнения 24 и щиток вентилятора 19.

Расконтрите и отверните восемь болтов 5 крепления масляных радиаторов 4 и снимите их с боковин водяного радиатора. Пометьте положения кронштейнов 6 на трубках масляных радиаторов для того, чтобы при сборке установить их на прежние места. Отверните четыре гайки 30, снимите пружинные шайбы, кронштейны 6, скобы 27 с болтами, прокладки 28 со втулками 29 и рассоедините масляные радиаторы.

Отверните два болта 35 крепления планки шторки радиатора. Отверните со стержней 1 гайки 36 и 7, снимите шайбы и выньте стержни из проушин боковин радиатора и кронштейнов валика шторки 2. Снимите валик шторки.

Водяной радиатор с рамой

Рис. 314. Водяной радиатор с рамой

Отверните четыре болта 9 ( рис.314 ) и снимите опору 10. Расконтрите и отверните по четыре гайки 7 с каждой стороны и снимите правую и левую боковины 8 радиатора. Расконтрите и отверните восемь гаек 2, снимите четыре уголка 6 с болтами, пластины 3, амортизаторы 4 и втулки 5.

Технические требования на радиаторы Т-170

Масляный радиатор

  1. Допускается обрезка одной трубки у коллекторов в случае ее течи с последующей заваркой отверстий.

  2. Места подварки после ремонта масляного радиатора должны быть плотными. Не допускается попадание брызг металла в резьбовые отверстия и на обработанные торцовые поверхности под пробку и штуцеры маслопроводов.

  3. Резьбовые отверстия после заварки прокалибруйте. Резьба отверстий под штуцеры подводящего и отводящего маслопроводов — М22Х1.5-7Н, глубина резьбы — 20 мм. Резьба отверстия под пробку — М16Х1.5-6Н, глубина резьбы —14 мм.

  4. Радиатор после ремонта должен быть испытан на герметичность воздухом в водяной ванне под давлением 0,6 кПа (6 кгс/см²) в течение не менее 30 с. Швы обстучите деревянным молотком массой 0,6 кг. Появление пузырьков воздуха не: допускается.

  5. После ремонта и испытания на герметичность внутреннюю полость масляного радиатора промойте дизельным
  6. топливом.

Водяной радиатор

  1. Допускается исправление сварных и паяных швов пайкой мягким припоем ПОССу 40-2-П.

  2. При появлении течи в охлаждающих трубках в период эксплуатации допускается их глушение не более 15 штук.

  3. Помятые трубки радиатора и торцы охлаждающих пластин на лобовой и тыльной сторонах сердцевины радиатора должны быть выправлены.

  4. Внутренняя поверхность радиатора и его охлаждающих трубок должна быть очищена от накипи содовым раствором 10 г соды на 1 л воды, затем промыта горячей водой 60...70°С.

  5. Радиатор после ремонта должен быть испытан на герметичность в водяной ванне воздухом под давлением 100...150 кПа (1...1,5 кгс/см²) в течение не менее 30 с. Появление пузырьков воздуха не допускается. Допускается испытание водой под давлением 90 кПа (0,9 кгс/см²).

  6. Крышка заливной горловины должна быть герметичной. Открытие парового клапана должно быть при избыточном давлении в радиаторе 20... 60 кПа (0,2...0,6 кгс/см²). Открытие воздушного клапана — при разряжении 1...12 кПа (0,01...0,12 кгс/см²).

Кран в сборе

Кран в сборе

Рис. 315. Кран в сборе
1 — пробка; 2 — втулка
  1. Рабочая поверхность пробки должна быть с радиусом сферы (10±0,29) мм, начинающейся с диаметра (11 ± 1,1) мм на торце пробки.

  2. Рабочая поверхность втулки 2 крана должна быть конусная с углом конуса 60°.

  3. Втулка должна устанавливаться в отверстие корпуса крана на железном сурике и стопорится штифтом. Посадка втулки в отверстии корпуса с натягом 0,055...0,088 мм.

  4. Не допускается течь воды при испытании крана в сборе водой под давлением 80...150 кПа (0,8...1,5 кгс/см²) в течение 30 с.

Сборка водяного и масляного радиаторов Т-170

Установите восемь амортизаторов 4 ( см. рис. 314) в сборе со втулками 5 в отверстия четырех перегородок стоек радиатора. Вставьте болты уголков 6 во втулки амортизаторов, установите пластины 3 и закрепите их гайками 2 со стопорными пластинами.

Установите левую и правую боковины 8 радиатора на болты уголков и закрепите каждую четырьмя гайками 7 с двумя стопорными пластинами. Установите опору 10 в сборе с амортизаторами 11 на боковины радиатора и закрепите четырьмя болтами 9 с пружинными шайбами. Установите и закрепите на коллекторе радиатора кронштейн 1 тросика шторки, если он снимался при разборке.

Установите валик шторки 2 ( см. рис. 313 ) на боковины радиатора, совместите отверстия в планке шторки с отверстиями в боковинах и вверните, не затягивая, два болта 35 с плоской и пружинной шайбами. Пропустите тросик шторки через трубку кронштейна на верхнем коллекторе радиатора. Вставьте стержни 1 в кронштейны валика шторки 2 и закрепите их в проушинах боковин радиатора гайками с плоскими и пружинными шайбами. Затяните гайки крепления стержней и болты крепления планки шторки, обеспечив при этом свободное перемещение валика шторки радиатора по стержням.

Соедините два масляных радиатора 4, установите на них четыре кронштейна 6 (по меткам, нанесенным при разборке),прокладки 28 со втулками 29 и скобы 27 с болтами. Наденьте на болты пружинные шайбы и наверните гайки 30, не затягивая их. Обратите внимание на правильность расположения радиаторов (передний радиатор — дизеля, задний — трансмиссии) — нижние пары штуцеров на радиаторах должны находиться с разных сторон, и при установке на трактор должны совпасть с отверстиями своих маслопроводов. Установите масляные радиаторы в сборе на боковины водяного радиатора, совместите отверстия в боковинах 3 и закрепите восемью, болтами 5 со стопорными шайбами. Затяните четыре гайки 30 на кронштейнах масляных радиаторов.

Установите щиток 19 вентилятора на шпильки боковин водяного радиатора (по меткам, нанесенным при разборке). Установите на шпильки боковин два уплотнения 24, два козырька 26. Подсоедините сливную трубку 10 к штуцеру заливной горловины 9. Наденьте на сливную трубку четыре скобы 25 и установите их на шпильки правой боковины. Наденьте на шпильки четыре накладки и закрепите щиток вентилятора и сливную трубку восемью гайками 18 с пружинными шайбами.

Установка водяного и масляного радиаторов Т-170

Установите четыре втулки 33 с амортизаторами 34 на лонжеронах трактора. Установите подъемником водяной и масляные радиаторы в сборе на втулки амортизаторов, стараясь не повредить лопасти вентилятора. Вставьте сверху во втулку болты 31 с накладками, наденьте снизу на болты накладки 32 и закрепите радиаторы на лонжеронах трактора четырьмя гайками с пружинными шайбами. Подсоедините к болтам проушин водяного радиатора раскосы 11 и при необходимости отрегулируйте их длину, установив равномерный зазор между лопастями вентилятора и пластинами водяного радиатора. Затяните гайки 14 крепления раскосов. Проверьте и, при необходимости, отрегулируйте зазор между лопастями вентилятора и щитком 19 вентилятора. Для этого ослабьте восемь гаек крепления щитка вентилятора и, перемещая его вверх или вниз, установите по окружности зазор Е не менее 10 мм.

Подсоедините четыре Маслопровода 37 к масляным радиаторам и закрепите их полыми болтами 38 с кольцами 39. Установите на привалочную поверхность нижнего бака радиатора резиновую прокладку 20 и закрепите ее двумя винтами (если она снималась при разборке). Вставьте кран 22 в рукав 23 водяного насоса, установите на прокладку и закрепите его на радиаторе четырьмя болтами 21 с пружинными шайбами. Затяните хомут на рукаве водяного насоса.

Подсоедините к верхнему патрубку 16 радиатора рукав водоотводной трубы 15 и затяните на нем хомуты. Подсоедините тросик 12 шторки радиатора к цепочке 13 управления. Закройте решетку радиатора и закрепите ее болтами с пружинными шайбами. Подсоедините стойку и закройте переднюю крышу капота.

Ремонт водяного и масляного радиаторов