Запасные части ЧТЗ Запасные части ЧТЗ
Горловка
Например:
Актобе
Алдан
или
Выбрать автоматически
Актобе
Алдан
Алматы
Алчевск
Архангельск
Астана
Астрахань
Атырау
Баку
Балашиха
Барнаул
Белгород
Бердянск
Бишкек
Владивосток
Владикавказ
Воркута
Воронеж
Горловка
Грозный
Донецк
Екатеринбург
Иваново
Ижевск
Иркутск
Казань
Калининград
Каменск-Уральский
Караганда
Каховка
Кемерово
Киров
Комсомольск-на-Амуре
Костанай
Краснодар
Красноярск
Красный луч
Ленск
Луганск
Магадан
Магнитогорск
Макеевка
Махачкала
Мелитополь
Минск
Мирный (Якутия)
Москва
Мурманск
Нерюнгри
Нижневартовск
Нижний Новгород
Нижний Тагил
Новая каховка
Новокузнецк
Новосибирск
Новый Уренгой
Норильск
Ноябрьск
Нур-Султан
Омск
Оренбург
Ош
Павлодар
Пермь
Петрозаводск
Петропавловск
Петропавловск-Камчатский
Псков
Ростов-на-Дону
Салехард
Самара
Санкт-Петербург
Саратов
Севастополь
Семей
Симферополь
Сочи
Ставрополь
Сургут
Сыктывкар
Тараз
Ташкент
Токмак
Томск
Тында
Тюмень
Ульяновск
Усинск
Усть-Каменогорск
Уфа
Хабаровск
Ханты-Мансийск
Херсон
Челябинск
Чита
Шымкент
Экибастуз
Энергодар
Южно-Сахалинск
Якутск
Ваш город
Горловка
Войти
Запасные части к тракторам на одном сайте
Отправить заявку


Ремонт фильтра системы смазки трансмиссии Т-170 Б-170 трактора в Горловке


/
с НДС 20%
Описание

Снятие фильтра системы смазки трансмиссии Т-170

Отверните два болта сиденья пассажира и удалите сиденье из кабины. Отсоедините провода от аккумуляторной батареи, выньте ее из аккумуляторного ящика. Вытяните оба провода, идущие к аккумуляторной батарее через отверстия в дне аккумуляторного ящика и в панели пола. Отверните четыре болта, снимите сиденье водителя и удалите его из кабины трактора. Отверните четыре болта, снимите ее вместе с аккумуляторным ящиком и основанием сиденья пассажира. Отверните полые болты, крепящие трубки подвода и отвода масла от фильтра. Отверните торцовым ключом 21-27-8 два болта крепления фильтра и снимите фильтр.

Разборка фильтра системы смазки трансмиссии Т-170

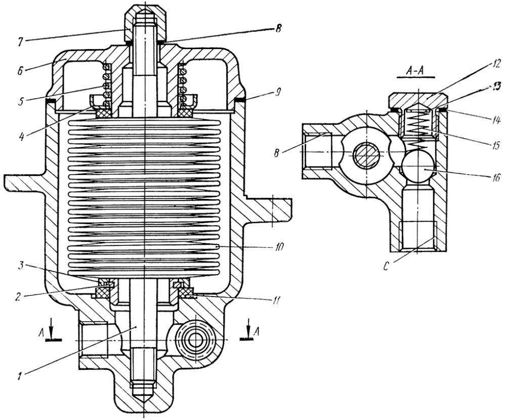
Фильтр системы смазки трансмиссии

Рис. 217. Фильтр системы смазки трансмиссии

Сверните со шпильки 1 ( рис. 217 ) глухую гайку 7. Снимите со шпильки прокладку. Снимите крышку 6 в сборе с фильтрующими элементами.

Снимите с втулки крышки войлочное кольцо 11. Сожмите фильтрующие элементы через кольцо 3 так, чтобы нижняя плоскость кольца совпала с верхним торцом канавки на крышке 6 и выньте из канавки упорные полукольца 2. Снимите с крышки последовательно: кольцо 3, элементы фильтрующие 10, войлочное кольцо, шайбу 4, пружину 5. Снимите с крышки прокладку 9.

Выверните из корпуса фильтра штуцер 12 снимите с него уплотнительное кольцо 14, выньте шайбу 13. Выньте из корпуса фильтра пружину 15 и шарик 16. При износе резьбы выверните из корпуса шпильку 1.

Сборка фильтра системы смазки трансмиссии Т-170

Промойте фильтрующие элементы дизельным топливом. При повреждении сетки элемент замените. Вставьте в отверстие корпуса фильтра шарик 16. Оправкой обстучите по шарику посадочное место корпуса под шарик до появления сплошного кольцевого пояска.

Наденьте на штуфер 12 уплотнительное кольцо 14, вложите в штуцер шайбу 13 и пружину 15 и вверните его в корпус масляного фильтра до отказа.

Наденьте на крышку последовательно пружину 5, шайбу 4, войлочное кольцо, фильтрующие элементы 10 и кольцо 3. Сожмите усилием 110... 150 Н (11...15 кгс) фильтрующие элементы через кольцо 3 так, чтобы нижняя плоскость кольца совпала с верхним торцом канавки на Крышке и установите в канавку крышки два упорных полукольца 2. Регулируйте усилие сжатия подбором количества фильтрующих элементов 10 (но не более 19). Наденьте войлочное кольцо 11 на крышку до упора в кольцо 3. Вверните в корпус фильтра шпильку 1. Наденьте на крышку прокладку 9. Установите крышку в сборе в корпус фильтра на шпильку так, чтобы посадочный поясок крышки вошел в выточку корпуса. Выступание прокладки 9 не допускается. Наденьте на шпильку уплотнительное кольцо 8 и наверните глухую гайку 7.

Испытание фильтра системы смазки трансмиссии Т-170

Установите фильтр на испытательный стенд и закрепите его. Подсоедините подводящий шланг к отверстию С, а отводящий шланг к отверстию В. Отверстия В и С имеют резьбу М22 X1,5.

Проверьте фильтр на герметичность под давлением 500 кПа (5 кгс/см²) моторным маслом при температуре 323...353 К (70...80 °С) в течение 3 мин. Течь масла через прокладки и уплотнения не допускается. Отсоедините шланги от фильтра, снимите фильтр и слейте масло через выходное отверстие В фильтра.

Установка фильтра системы смазки трансмиссии Т-170

Установите фильтр на левый, механизм переключения коробки передач трактора и закрепите его двумя болтами с пружинными шайбами. Закрепите трубки подвода И отвода масла штуцерами, надев на штуцера с каждой стороны наконечника трубки по уплотнительному кольцу. Установите заднюю панель пола с основанием сиденья пассажира и аккумуляторным ящиком, протяните провода, идущие к аккумуляторной батарее в отверстия панели пола и дна аккумуляторного ящика. Закрепите заднюю панель пола четырьмя болтами с пружинными шайбами. Установите на панель пола сиденье водителя и закрепите его четырьмя болтами с пружинными шайбами. Установите на основание сиденье пассажира и закрепите его двумя болтами. Установите аккумуляторную батарею в аккумуляторный ящик и подсоедините к ней провода.

Ремонт фильтра системы смазки трансмиссии