Запасные части ЧТЗ Запасные части ЧТЗ
Горловка
Например:
Актобе
Алдан
или
Выбрать автоматически
Актобе
Алдан
Алматы
Алчевск
Архангельск
Астана
Астрахань
Атырау
Баку
Балашиха
Барнаул
Белгород
Бердянск
Бишкек
Владивосток
Владикавказ
Воркута
Воронеж
Горловка
Грозный
Донецк
Екатеринбург
Иваново
Ижевск
Иркутск
Казань
Калининград
Каменск-Уральский
Караганда
Каховка
Кемерово
Киров
Комсомольск-на-Амуре
Костанай
Краснодар
Красноярск
Красный луч
Ленск
Луганск
Магадан
Магнитогорск
Макеевка
Махачкала
Мелитополь
Минск
Мирный (Якутия)
Москва
Мурманск
Нерюнгри
Нижневартовск
Нижний Новгород
Нижний Тагил
Новая каховка
Новокузнецк
Новосибирск
Новый Уренгой
Норильск
Ноябрьск
Нур-Султан
Омск
Оренбург
Ош
Павлодар
Пермь
Петрозаводск
Петропавловск
Петропавловск-Камчатский
Псков
Ростов-на-Дону
Салехард
Самара
Санкт-Петербург
Саратов
Севастополь
Семей
Симферополь
Сочи
Ставрополь
Сургут
Сыктывкар
Тараз
Ташкент
Токмак
Томск
Тында
Тюмень
Ульяновск
Усинск
Усть-Каменогорск
Уфа
Хабаровск
Ханты-Мансийск
Херсон
Челябинск
Чита
Шымкент
Экибастуз
Энергодар
Южно-Сахалинск
Якутск
Ваш город
Горловка
Войти
Запасные части к тракторам на одном сайте
Отправить заявку


Ремонт механизма управления муфтой сцепления и горным тормозом Т-170 Б-170 трактора в Горловке


/
с НДС 20%
Описание

Снятие механизма управления муфтой сцепления Т-170

Механизм управления муфтой сцепления и горным тормозом

Механизм управления муфтой сцепления и горным тормозом

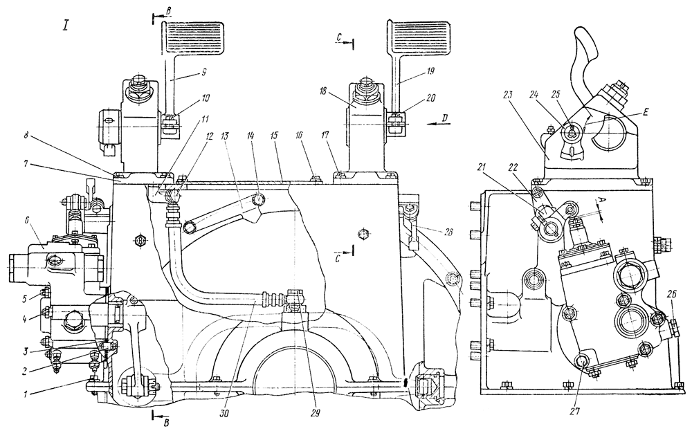
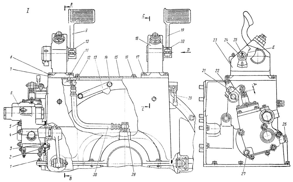
Рис. 195. Механизм управления муфтой сцепления и горным тормозом

Снимите передние панели пола в кабине трактора. Расшплинтуйте палец и отсоедините тягу горного тормоза от рычага 28 (рис. 195). Расшплинтуйте палец и отсоедините тягу блокировки от рычага 22. Отсоедините тягу механизма включения пусковой шестерни пускового двигателя. Закройте кран на правом гидробаке. Отсоедините от сервомеханизма управления муфтой сцепления трубы подвода и отвода масла и сливную трубу. После отсоединения сливной трубы штуцер 26 заверните на место, отверстия в сервомеханизме, трубах заглушите технологическими пробками. Отверните четыре болта 16 и снимите крышку 15. Расконтрите штуцер 29, отсоедините рукав 30 от пальца рычага муфты сцепления. Выньте шплинт 56, отверните стопор 55, шаровую гайку 54. Отверните восемь болтов и восемь болтов 14, снимите указатель 13. Снимите верхний кожух муфты сцепления в сборе с колонками педалей и сервомеханизмом, при этом выведите тягу 31 из отверстия рычага муфты сцепления. Масса кожуха 90 кг.

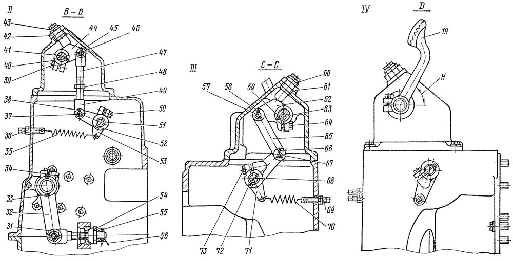
Разборка механизма управления муфтой сцепления Т-170

Отсоедините пружину 70 от винта 69 и выньте винт из отверстия кожуха. Отогните концы шплинта 66 и выньте его из пальца 67. Разъедините рычаг с тягой 65, вынув палец 67. Отверните четыре болта 17 и снимите колонку 18 в сборе с рычагом^ и педалью. Ослабьте болт 73 и снимите с оси рычаг 71, выньте шпонку 72. Выньте ось 68 в сборе с рычагом из отверстия кожуха. Ослабьте болт 20, снимите педаль 19 и выньте шпонку. .Отверните гайку 61 и выверните упор 60. Ослабьте гайку. 64, выбейте ось 63. Выньте шплинт 58, разъедините рычаг 62 с тягой 65.

Отсоедините пружину 35 от винта 36 и выньте винт из отверстия кожуха. Отогните концы шплинта 38 и выньте его из пальца 37. Разъедините рычаг с вилкой 49, выньте палец 37. Отверните четыре болта с шайбами 8 и снимите колонку 7 в сборе с рычагом, вилкой, упором, рукавом и педалью. Ослабьте болт 50 и снимите с оси рычаг 53, выньте шпонку 52, выньте ось 51 в сборе с рычагами из отверстия кожуха. Расконтрите штуцер 12 и отсоедините рукав 30 от колена 11, выверните колено. Ослабьте болт 10, снимите педаль 9 и выньте шпонку. Отверните гайку 42 и выверните упор 43. Ослабьте гайку 39, выбейте ось 41. Выньте шплинт 45, разъедините рычаг 44 с тягой 47. Выньте шплинт 25 и снимите фиксатор 24. Ослабьте болт 34 и снимите с вала сервомеханизма рычаг 32 с тягой, выньте шпонку 33. Отверните четыре гайки 4, болт 27 и снимите сервомеханизм 6.

Технические требования на механизм управления муфтой сцепления Т-170

  1. Втулки в колонках педалей должны быть запрессованы заподлицо с поверхностью колонки. Допускается утопание не более 0,5 мм. Размер между торцами втулок должен быть равен 30±0,28 мм. После запрессовки отверстия во втулках должны быть развернуты на размер диаметра 25±0,045 мм. Несоосность отверстий допускается не более 0,025 мм.

  2. Втулки в кожухе должны быть запрессованы заподлицо с . наружными торцовыми поверхностями кожуха. После запрессовки отверстия во втулках должны быть развернута на размер диаметра 25±0,045 мм и 35±0,05 мм.

  3. Канавки втулок колонок и кожуха должны быть заполнены смесью из коллоидно-графитного препарата (44,6 %), льняного масла (11 %), скипидара (44,4%).

  4. Продольный люфт педалей допускается не более 1,5 мм.

  5. Поворот валиков, педалей и рычагов должен быть свободный, без заедания.

  6. Педали должны возвращаться в исходное положение под действием пружин. Натяжение пружин регулируйте винтами с контргайками.

  7. Допустимый зазор между осями педалей и их втулками — 0,40 мм, предельный зазор — 0,60 мм.

  8. Допустимый зазор между валиками и их втулками в кожухе — 0,38 мм, предельный зазор — 0,50 мм
.

Сборка механизма управления муфтой сцепления Т-170

Проверьте резьбу на шпильках крепления сервомеханизма, на кожухе муфты сцепления и при необходимости замените шпильки. Установите на шпильки прокладку 3, смазав ее лаком «Герметик». Проверьте наличие в канавке вала сервомеханизма уплотнительного кольца, при износе его замените. Установите сервомеханизм 6 на шпильки 5 и штифты 2. Наверните четыре гайки 4 с шайбами. Закрепите сервомеханизм болтом 27. Вставьте в шпоночный паз вала сервомеханизма шпонку 33, наденьте на вал рычаг 32, собранный с тягой, затяните болт 34 на рычаге. Установите в отверстие кожуха ось 51 в сборе с рычагами 21, 22. Установите в шпоночный паз оси шпонку 52. Установите в отверстие рычага 53 пружину 35, наденьте рычаг на ось 51, затяните болт 50. Совместите отверстие рычага 44 с отверстием тяги 47, установите в совмещенные отверстия палец 46 и зашплинтуйте.

Сборка колонки педали муфты сцепления

Установите в шпоночный паз оси 41 шпонку 40 на место посадки рычага 44. Заведите рычаг 44 в сборе с тягой в колонку 7 и наденьте на ось 41. Затяните болт 39. Установите в шпоночный паз оси 41 шпонку, наденьте педаль 9 и затяните болт 10. Заверните в колонку 7 колено 11. Заполните рукав 30 смазкой Литол-24. Соедините рукав 30 с коленом штуцером 12 с двумя уплотнительными кольцами. Законтрите штуцер проволокой. Наденьте фиксатор 24 на ось, установите шайбу и зашплинтуйте. Установите колонку 23 в сборе с тягой, рычагом, рукавом и педалью на кожух муфты сцепления и заверните четыре болта с пружинными шайбами. Установите педаль 9 в положение Е так, чтобы угол был Е=(60±5)° (положение педали соответствует включенной муфте сцепления) и заверните упор 43 до упора во внутренний рычаг 44. Законтрите упор гайкой 42. Отрегулируйте зазор А, изменением длины тяги 47, вращая вилку 49. При этом шток сервомеханизма должен находиться в крайнем верхнем положении. После регулировки затяните контргайку 48. Совместите отверстие вилки 49 с отверстием рычага 53, установите палец 37 и зашплинтуйте его. Вставьте в отверстие кожуха винт 36 и соедините его с пружиной 35.

Сборка колонки педали горного тормоза

Установите в отверстие кожуха ось 68, собранную с наружным рычагом. Установите в шпоночный паз оси шпонку 72. Соедините рычаг 71 е пружиной 70, наденьте рычаг на ось 68 и затяните болт 73. Совместите отверстие рычага 62 с отверстием тяги 65, установите в совмещенные отверстия палец 57 и зашплинтуйте его.

Установите в шпоночный паз оси 63 шпонку 59 на место посадки рычага 62, заведите рычаг в сборе с тягой в колонку и наденьте на ось 63,затяните болт 64.

Установите в шпоночный паз оси 63 шпонку, наденьте педаль 19, затяните болт 20. Установите колонку 18 в сборе с тягой, рычагом, педалью на кожух муфты сцепления и заверните четыре болта 17 с пружинными шайбами. Совместите отверстие тяги 65 с отверстием рычага 71, установите палец 67 и зашплинтуйте его. Установите педаль 19 в положение Н так, чтобы угол Н= (60±5)° (положение педали соответствует выключенному горному тормозу), и заверните упор 60 до упора во внутренний рычаг 62. Упор законтрите гайкой 61. Вставьте в отверстие кожуха винт 69 и соедините его с пружиной 70. Проверьте ход педалей. Педали 9 и 19 должны возвращаться в исходное положение после снятия усилия нажатия под действием пружин 70 и 35. Продольный люфт педалей должен быть не менее 1,5 мм.

Установка механизма управления муфтой сцепления Т-170

Установите верхний кожух муфты сцепления в сборе с колонками педалей и сервомеханизмом на нижний кожух, при этом заведите тягу 31 в отверстие рычага муфты сцепления и наверните шаровую гайку 54. Закрепите верхний кожух муфты сцепления к кожуху маховика восемью болтами 14 с пружинными шайбами, при этом на два верхних болта слева установите указатель 13. Закрепите верхнюю половину кожуха на нижней половине восемью болтами 1 с пружинными шайбами. Выверните из сервомеханизма штуцер 26. Вращая шаровую гайку 54, отрегулируйте свободный ход штока сервомеханизма (от его крайнего верхнего положения), который при неработающем двигателе должен быть 14...15 мм, после чего наверните на тягу стопор 55 и зашплинтуйте шплинтом 56. Проверьте величину зазора А и при необходимости дорегулируйте упором 43. Прикрепите к пальцу рычага муфты сцепления рукав 30 штуцером 29 с двумя уплотнительными кольцами, законтрите штуцер проволокой.

Соедините тягу горного тормоза с рычагом 28 пальцем и зашплинтуйте его. Соедините тягу блокировки с рычагом 22 пальцем и зашплинтуйте палец. Присоедините тягу механизма включения пусковой шестерни пускового двигателя. Присоедините к сервомеханизму управления муфтой сцепления трубы подвода и отвода масла и сливную трубу. Установите крышку 15 и закрепите четырьмя болтами 16 с пружинными шайбами.

Ремонт механизма управления муфтой сцепления и горным тормозом